- Выход на кровлю — пожарные нормы, СП: через люк, количество выходов, дверь выхода на кровлю, требования
- Проверенный бизнес » Устройство противопожарного люка в проеме противопожарного перекрытия над лестничной клеткой, ведущего на чердак
- Правильный термин для «корпуса для доступа на крышу»
- Правильный термин для «крышечного ограждения»
- Re: Правильный термин «выход на крышу»
- Re: Правильный термин «выход на крышу»
- Re: Правильный термин «выход на крышу»
- Re: Правильный термин «выход на крышу»
- Re: Правильный термин «выход на крышу»
- Re: Правильный термин «выход на крышу»
- Re: Правильный термин «выход на крышу»
- Re: Правильный термин «выход на крышу»
- Re: Правильный термин «выход на крышу»
- Re: Правильный термин «выход на крышу»
- Re: Правильный термин «выход на крышу»
- Re: Правильный термин «выход на крышу»
- Re: Правильный термин «выход на крышу»
- Re: Правильный термин «выход на крышу»
- Re: Правильный термин «выход на крышу»
- Свод правил Калифорнии, раздел 8, раздел 1629. Лестницы и лестницы.
Выход на кровлю — пожарные нормы, СП: через люк, количество выходов, дверь выхода на кровлю, требования
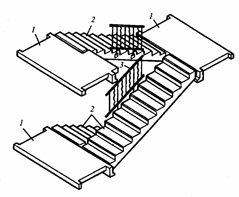
Иногда в ликвидации пожара решающим становится доступ к крыше. По пожарным нормам СП выход на кровлю должен быть у всех зданий, независимо от вида собственности. Государственными стандартами установлены правила монтажа лестничных конструкций, их размеры, тип и количество.
СНиП 21-01-97 «Пожарная безопасность зданий и сооружений»
Для тушения пожаров на верхних уровнях и наружном покрытии используют чердачные помещения. Для этих целей пожарные пользуются лестницами, установленными внутри строений либо снаружи. Нормы монтажа конструкций регламентированы СНиП 21-01-97, п. 8.3. В правилах установки противопожарных лестниц учитывается высота дома, класс опасности, тип чердачного помещения.
Способы осуществления выхода
Согласно нормативам, для строения выше 10 м выход на чердак должен быть с лестничной клетки. Для сооружения, ниже этой высоты – с наружной стороны.
Доступ наверх должен быть свободным для спасательных бригад. Запрещено устраивать переходы из номеров гостиниц, жилых квартир и прочих помещений, ограничивающих передвижения.
Для прохода на крышу предусматривают варианты:
- из лестничной клетки;
- из лестничной клетки на чердак, а затем наверх;
- по наружным открытым лестницам;
- по наружным моделям установленного образца.
В здании может быть выход на кровлю через люк, окно либо дверь.
Расчет количества проходов
В каждом строении должен быть доступ на крышу. Количество дверей/люков рассчитывается из длины сооружения и площади покрытия. Количество выходов на кровлю для сооружений класса Ф1- 4 должно быть не менее 1 на 100 м длины или не менее 1 на 1000 м² площади покрытия.
Если высотность дома менее 10 метров, отдельный доступ не предусматривается. Возможности пожарной машины достаточно для работы на верхнем уровне.
Конструкции могут быть внутренними либо наружными.
Согласно правилам противопожарной безопасности, если в здании есть внутренний ход наверх, наружный не устанавливают.
Для строений высотой выше 10 м расчет ходов делается исходя из площади покрытия – 1 проход на каждые 40 000 м² кровли.
Разновидности лестниц
Согласно с Федеральным Законом, лестничные конструкции бывают эвакуационные и пожарные. Первые используются для спасения людей, вторые для прохода спасателей на кровлю.
Для работы спасательных бригад проектируют варианты, способные выдержать повышенную массу и устойчивые к высоким температурам. Это металлические сооружения, устойчивые к коррозии и огню. Открытая стальная лестница многоэтажного дома должна выдерживать погодные условия – перепады температур, высокую влажность. Для проверки прочности каждые 5 лет проводят контрольные испытания.
Лестница для прохода на чердак устанавливается с учетом принятых норм:
- расстояние до стены 30 см;
- минимальная горизонтальная нагрузка – 75 кг;
- при нагрузке на ступень 180 кг она не должна деформироваться.

Пожарные модели обозначаются буквой «П» с указанием класса.
- Первый класс устанавливается в строениях с расстоянием от основания до покрытия 10 – 20 м или с перепадом крыши 20 м.
- Если дом превышает 20 метров или перепад кровли более 20 м для прохода на чердак необходима установка конструкций второго класса. Такие модели делают с площадками на уровне каждого эвакуационного хода. Для удобства и безопасности они оборудованы перилами. Вариант П2 устанавливают под углом.
- Вариант П3, в сравнении с моделью П2, имеет большую ширину, угол наклона и повышенную прочность. Наращиванием разрешается переоборудовать вариант П2 в более совершенную модель.
Направление открытия дверей для доступа на чердак не установлено. Люки и двери не должны иметь запоров и замков, препятствующих свободному передвижению.
Проверенный бизнес » Устройство противопожарного люка в проеме противопожарного перекрытия над лестничной клеткой, ведущего на чердак
2 ноября, 10:33
Просьба оказать техническую консультационную поддержку в возникшем вопросе.
Объект — двухэтажное здание административно-производственного назначения (база РЭС) высотой 7,120 м до карниза кровли; габариты здания в плане 12х36 м. Здание выполнено в кирпичном исполнении с несущими стенами. Перекрытия из сборных железобетонных многопустотных панелей. Кровля двухскатная из профлиста по деревянным стропильным конструкциям, прогонам и обрешетке.
С лестничной клетки второго этажа организован доступ на чердак и конструктивно выполнен в виде складной металлической лестницы ножничного типа с коробом (люком) из МДФ.
Так как крышка люка выполнена из МФД, специалист по пожарной безопасности предприятия ссылается на нарушение требований пожарной безопасности, а именно на нарушение требований статьи 87 пункта 3 и статьи 88 пункты 1 и 13 Технического регламента о трбеованиях пожарной безопасности (ФЗ N 123), а также требований п. 4.17 свода правил СП 4.13130.2013.
Данный люк не является эвакуационным путем и путем подъема и доступа сотрудников пожарной охраны на кровлю здания.
На кровле не расположено технологическое оборудование.
Деревянные конструкции кровли обработаны огнезащитным составом Пирилакс. Подскажите, пожалуйста, является ли данное конструктивное решение нарушением и достаточно ли будет указать обработку огнезащитными составами люка лестницы, выполненного из МДФ?
Ответ:
В соответствии с п.7.7 СП 4.13130.2013 «Системы противопожарной защиты. Ограничение распространения пожара на объектах защиты. Требования к объемно-планировочным и конструктивным решениям» (ред.от 18.07.2013) в зданиях и сооружениях классов Ф1, Ф2, Ф3 и Ф4 высотой не более 15 метров допускается устройство выходов на чердак или кровлю с лестничных клеток через противопожарные люки 2-го типа размером 0,6×0,8 метра по закрепленным стальным стремянкам.
В соответствии с п.7.6 СП 4.13130.2013 выходы с лестничных клеток на кровлю или чердак предусматриваются по лестничным маршам с площадками перед выходом через противопожарные двери 2-го типа размером не менее 0,75×1,5 метра.
В соответствии с п.7.2 СП 4.13130.2013 в зданиях и сооружениях высотой 10 и более метров от отметки поверхности проезда пожарных машин до карниза кровли или верха наружной стены (парапета) должны предусматриваться выходы на кровлю с лестничных клеток непосредственно или через чердак либо по лестницам 3-го типа или по наружным пожарным лестницам.
В Вашем случае (высота от отметки поверхности проезда пожарных машин до карниза кровли составляет 7,120 м) возможно было не предусматривать выход на кровлю, в том числе с лестничных клеток через чердак.
Вместе с тем, в Вашем случае имеется выход на чердак с лестничной клетки через проем с люком.
Необходимо учитывать, что внутренний объем лестничной клетки должен быть защищен от проникновения опасных факторов пожара, как из горящих помещений, так и из горящего чердака, либо с горящей плоской кровли.
В соответствии с требованиями таблицы 21 Федерального закона от 22 июля 2008 года N 123-ФЗ «Технический регламент о требованиях пожарной безопасности» (ред.![]()
В соответствии с требованиями ч.3 ст.87, ч.2, ч.3 ст.88 Федерального закона от 22 июля 2008 года N123-ФЗ, п.4.17 СП 4.13130 проемы в строительных конструкциях с нормируемыми пределами огнестойкости должны заполняться соответствующими противопожарным дверьми, воротами, люками, клапанами, окнами, шторами, занавесами.
В связи с этим, п.7.6, п.7.7 СП 4.13130.2013 и установлено, что при наличии проемов в перекрытиях (покрытиях) над лестничными клетками, либо при наличии проемов в стенах лестничных клеток, ведущих на чердаки и плоские кровли, в данных проемах необходимо устанавливать именно противопожарные люки 2-го типа (EI 30), либо противопожарные двери 2-го типа (EI 30) соответственно.
В Вашем случае имеется проем в противопожарном перекрытии над лестничной клеткой, ведущий на чердак.
Соответственно, в Вашем случае в целях выполнения требований, установленных ч.3 ст. 87, ч.2, ч.3 ст.88, таблицами 21, 23, 24 Федерального закона от 22 июля 2008 года N 123-ФЗ, п.4.17 СП 4.13130, п.5.4.16 СП2.13130.2012, необходимо устройство сертифицированного противопожарного люка 2-го типа (EI 30) в проеме противопожарного перекрытия над лестничной клеткой, ведущего на чердак.
Противопожарные люки подлежат обязательной сертификации (п.13 ч.7 ст.146 Федерального закона от 22 июля 2008 года N 123-ФЗ).
Белянин В.А.,
эксперт в области пожарной безопасности
Линия профессиональной поддержки пользователей
#МЧС
#пожарная безопасность
#система противопожарной защиты
Информация может быть не полной и/или не актуальной в связи с изменением законодательства
Можно ли вызвать заболевшего сотрудника для подписания уведомления 26 октября, 4:25
НПА: ТК РФ.
По данному вопросу дала пояснения Трудовая инспекция. Специалисты трудового ведомства разъяснили, может ли руководитель вызвать сотрудника, который в…
Правильный термин для «корпуса для доступа на крышу»
04.11.2009, 14:16 #1
Правильный термин для «крышечного ограждения»
Нет, этот не осматривал… У меня нет фото с осмотра, а это первое изображение такого типа «выхода на крышу» гугл подвернулся.
***ВАЖНО*** Вам необходимо зарегистрироваться для просмотра изображений
..Да и вообще, что это за правильный термин для этой структуры?
— Спасибо
Похожие темы:
- Furance Access.
- Кому нужен зазор 6 дюймов для одинарной стенки
- Белый «порошок» на выпускной трубе печи
- Замена крыши на крыльце — Как это должно быть «прошито»
- Руководство по страхованию долгосрочного ухода — Новости страхования Net
- крыша_access_enclosure.jpg (55,2 КБ, 90 просмотров)
Майкл Томас
Paragon Property Services Inc., Чикаго, Иллинойс
http://paragoninspects.comОтветить с цитатой
04.11.2009, 18:08 #2
Re: Правильный термин «выход на крышу»
Дерьмо — это то, на что это похоже.
Не говоря уже о технической стороне, но я всегда называл их выходами на крышу, а когда лестницы связаны с выходом на крышу по лестнице, я говорил об этом и слышал это от архитекторов и инженеров. некоторые могут называть крышу W/X, произносимой как wixs.Ответить с цитатой
04.11.2009, 19:32 #3
Re: Правильный термин «выход на крышу»
Майк
выглядит как БОЛЬШАЯ крыша в стиле сарая
Чарли
Ответить с цитатой
04.
11.2009, 21:12
#4Re: Правильный термин «выход на крышу»
перегородка
Ответить с цитатой
04.11.2009, 21:21 #5
Re: Правильный термин «выход на крышу»
hg
— это не переборка, а конструкция, которая выступает из другой крыши или корабля, иди флот — это похоже на наземную конструкцию с односкатной крышей???
Чарли
Ответить с цитатой
04.
11.2009, 21:23
#6Re: Правильный термин «выход на крышу»
hg
еще раз смотрю на картинку — она на крыше, да ладно, иди флотcharlie
Ответить с цитатой
05.11.2009, 06:34 #7
Re: Правильный термин «выход на крышу»
Односкатная крыша
Ответить с цитатой
05.
11.2009, 11:04
#8Re: Правильный термин «выход на крышу»
Сюда идут хорошие парни, когда за ними гонятся плохие парни, и двери никогда не запираются.
«Выход на крышу» достаточно хорош для Google.
Ответить с цитатой
13.12.2009, 00:21 #9
Re: Правильный термин «выход на крышу»
Большинство построек, построенных на крышах, будут называться «Пентхаус» (нет, не в журнале) или, как мне нравится называть их URA «Вертикальный доступ на крышу», я должен ненавидеть эти люки на крыше, особенно когда люк открывается не в ту сторону.

Франк Суходольский, RRO
Ответить с цитатой
13.12.2009, 08:04 #10
Re: Правильный термин «выход на крышу»
Первоначально написал Фрэнк Суходольский
Большинство строений, построенных на крышах, можно было бы назвать «Пентхаус» (нет, не журнал) или, как мне нравится называть их URA «Вертикальный доступ на крышу», я должен ненавидеть эти люки на крыше, особенно когда люк открывается не так.

Франк Суходольский, RRO
Доступ на крышу — это ловушка 22 причины выхода, которые хотят, чтобы дверь распахнулась, но если вы живете там, где есть снег в любое время после сильной бури, вы не сможете туда подняться.Ответить с цитатой
13 декабря 2009 г., 08:16 #11
Re: Правильный термин «выход на крышу»
Промышленное искусство.
..?Ответить с цитатой
13 декабря 2009 г., 09:06 #12
Re: Правильный термин «выход на крышу»
Если бы он был на скатной крыше, это был бы слуховой сарай, но это не так.
Если бы у него была стеклянная крыша вместе с теми стеклянными окнами, это могло бы быть окно в крыше или даже оранжерея, но это не так.
Если бы это было на корабле или на фасаде здания магазина, это была бы переборка, но это не так.

Я бы назвал это обрамлением или конструкцией двери доступа на крышу.
Ответить с цитатой
13 декабря 2009 г., 10:50 №13
Re: Правильный термин «выход на крышу»
AD,
, возможно, но чикагские постановления (строительные нормы и правила) называют его переборкой (достигнутой по лестнице, в отличие от меньшего по лестнице люка) и имеют по крайней мере с 1905 года.

Ex.
Принято 13 марта 1905 г. Строительный кодекс Чикаго, разд. 617: «Каждый многоквартирный дом должен иметь в крыше переборку или люк, несгораемый или покрытый огнеупорными материалами, с лестницей или лестницей, ведущей к нему; ни одно такое отверстие в крыше не должно быть меньше двух футов на три фута. дверь должна иметь любой замок, но может быть заперта изнутри подвижными засовами или крючками».
Текущий пример: Современный Строительный кодекс Чикаго, 15-8-560 Различные конструкции крыши. «Различные конструкции кровли, в том числе слуховые окна, переборки, иллюминаторы и аналогичные конструкции, должны быть выполнены из материала не менее огнеупорного, чем это требуется для конструкции кровли, на которой они установлены».
NYC и NYS до сих пор называют их переборками (как и большинство пожарных).
При ограждении над лестницей, обеспечивающей доступ на крышу, — переборка.
Нью-Йорк: « A: Внутренние лестницы должны обеспечивать доступ на крышу следующим образом:
— Не менее одна внутренняя лестница должна обеспечивать доступ на крышу в зданиях или секциях зданий высотой более 3 этажей или 40 футов, когда крыша уклоном менее двадцати градусов.
Доступ к участкам кровли с уклоном может осуществляться через дверной или оконный проем, ведущий на крышу. Внутренние лестницы, ведущие на крышу, должны быть заключены в переборки огнестойкой конструкции».Последний раз редактировалось Х. Г. Уотсоном-старшим; 13.12.2009, 11:02.
Ответить с цитатой
13 декабря 2009 г., 12:02 №14
Re: Правильный термин «выход на крышу»
Первоначально написал А.
Д. Миллер Если бы это было на скатной крыше, это было бы мансардное окно, но это не так.
Если бы у него была стеклянная крыша вместе с этими стеклянными окнами, это могло бы быть окно в крыше или даже теплица, но это не так.
Если бы это было на корабле или на фасаде здания магазина, это была бы переборка, но это не так.
Я бы назвал это обрамлением или конструкцией двери доступа на крышу.
Я думаю, что из предоставленного МТ изображения и описания и последующего обсуждения стало ясно, что этот термин не относится к военно-морскому, аэронавтическому или гражданскому строительному контексту.Bulkhead — это правильно, используется в Чикагских кодексах, пожарные также часто применяют этот термин.
Согласно Merriam-webster.com, его история восходит как минимум к 15 веку в связи с использованием терминов «структура/строительство».
переборка — определение из онлайн-словаря Merriam-Webster
и из: Определение перегородки | Определение переборки на Dictionary.
comпереборка
-существительное- Морской . любая из различных стеноподобных конструкций внутри судна, например, для образования водонепроницаемых отсеков, разделения пространства или усиления конструкции.
- Воздухоплавание. поперечная перегородка или усиливающий каркас в корпусе самолета.
- Гражданское строительство.
- перегородка, установленная в подземном переходе для предотвращения проникновения воздуха, воды или грязи.
- Подпорная конструкция из дерева, стали или железобетона, используемая для защиты берегов и в портовых работах.
- Строительные работы.
- горизонтальная или наклонная наружная дверь над лестницей, ведущей в подвал.
- коробчатая конструкция, например, на крыше, закрывающая лестничную клетку или другое отверстие
Постановления Чикаго и Маршал пожарной охраны Иллинойса точнее назвали бы изображенное «переборкой крыши».

Ответить с цитатой
13 декабря 2009 г., 13:07 №15
Re: Правильный термин «выход на крышу»
ХГ: Я говорил слишком рано, только взглянув на OED, который не поддерживает определение. Полные версии Webster’s (цитата не ваша) и American Heritage подтверждают это. Это новое использование термина для меня.
Живи и учись.
Ответить с цитатой
13.
12.2009, 13:20
№16Re: Правильный термин «выход на крышу»
Первоначально написал А. Д. Миллер
HG: Я сказал слишком рано, только взглянув на OED, который не поддерживает определение. Полные версии Webster’s (цитата не ваша) и American Heritage подтверждают это. Это новое использование термина для меня.
Живи и учись.
Кажется, выходит из моды, поскольку мое поколение и следующее вымирают, вероятно, устареют после четырех столетий и более чем двух десятилетий Интернета.
Я все еще борюсь с gia-normous и некоторыми другими недавно придуманными словами.
Ответить с цитатой
« Предыдущая тема | Следующая тема »
Закладки
Разрешения на публикацию
Свод правил Калифорнии, раздел 8, раздел 1629. Лестницы и лестницы.
Перейти к основному содержанию
Эта информация предоставляется бесплатно Департаментом производственных отношений. со своего веб-сайта www.dir.ca.gov. Эти правила предназначены для удобства пользователя, и не делается никаких заявлений или гарантий, что информация является текущим или точным. Полный отказ от ответственности см. на странице https://www.dir.ca.gov/od_pub/disclaimer.html.
Подраздел 4. Приказы безопасности строительства Статья 18.
Доступ и выезд
| Вернуться к указателю Новый запрос |
(a) Общие.
(1) Во всех зданиях или сооружениях 2 или более этажей или 24 фута или более в высоту или глубины, подходящие постоянные или временные лестницы должны быть установлены по мере необходимости. в Разделе 1629(b).
Исключение: в тех местах, где условия преобладают, альтернативный эффективный способ доступа, приемлемый для Отдела можно себе позволить.
(2) Для целей настоящего Раздела строительные леса должны не считаются конструкциями.
(3) Лестницы, пандусы или лестницы
должны быть предусмотрены во всех точках, где перепад высот составляет 18 дюймов и более. происходит в часто посещаемом проходе, входе или выходе. (4) Минимум
Для входа и выхода в здания и сооружения должна быть предусмотрена 1 лестничная клетка
до 3 этажей или 36 футов; если более 3 этажей или 36 футов, 2 или более лестниц
должны быть предоставлены.
(A) Если в здании или сооружении имеется только одна лестница между уровнями эта лестница должна быть свободна для свободного прохода сотрудников.
(B) При наличии двух или более лестниц и проведении работ на лестничных клетках по крайней мере одна лестница должна быть свободна для доступа между уровни во все времена. Примечание. Доступ к лестнице на объектах сноса см. Статья 31 этих приказов безопасности. Исключение для подраздела (а)(4): 1. В тех случаях, когда местах, где преобладают необычные условия, альтернативным эффективным средством доступа, приемлемого для Отдела.
(5) Лестницы должны соответствовать критериям, указанным на Таблице B-17, Приложение и Статья 17 эти приказы безопасности.
(6) Винтовые лестницы, не являющиеся частью нельзя использовать постоянную конструкцию.
(7) Достаточное освещение
на всех лестничных клетках, обеспечивая не менее пяти (5) фут-свечей света на ступенях,
должны быть сохранены. Все светильники, обеспечивающие освещение лестничных клеток, должны быть существенно
охраняется либо физически, либо по местоположению.
(б) Здания.
(1) Деревянные Каркасные Здания.
(А) Лестница на второй или выше этаж должно быть завершено до того, как будут подняты шпильки для поддержки следующего более высокого этажа.
(B) Запрещается прибивать шипы к стойкам для обеспечения доступа к крыше и выхода с нее. или другие рабочие зоны.
(2) Здания со стальным каркасом. Лестницы должны расширяться до самого верхнего этажа, который был обшит досками или настилом. Лестницы могут быть использованы выше эта точка.
(3) Железобетон или композитная сталь – бетонные здания. Лестницы должны доходить до самого нижнего этажа, на котором установлена полная вертикальная опора. система на месте. Минимум две лестницы в разных местах на каждом этаже могут использоваться выше этого этажа, но не более трех этажей.
(4) Крыша
и чердачные рабочие зоны всех зданий должны быть обеспечены безопасными средствами доступа
и выходы, такие как лестницы, пандусы или лестницы, которые соответствуют положениям
статьи 25 настоящих охранных ордеров.
(c) Использование лестницы.
(1) Одноместный лестницы с шипами не должны превышать 30 футов в длину.
(2) Где лестницы разрешен в качестве основного доступа или выхода, как в (b) выше, из рабочей зоны для 25 и более сотрудников, или предполагается одновременное двустороннее движение, двойная заклепка должны быть установлены лестницы. Лестницы с двойными скобами не должны превышать 24 фута в длину.
(3) Боковые поручни всех лестниц должны выступать не менее чем на 3 фута над посадку или уровень, который они обслуживают.
(4) Лестницы и их использование также должны соответствуют статье 25 настоящих Приказов о безопасности.
<Общие материалы (GM) — Ссылки, аннотации или таблицы>
Примечание. Авторитет и ссылка по: ст. 142.3 ТК РФ.
ИСТОРИЯ 1. Новый раздел подано 2-11-72; вступает в силу на тридцатый день после этого (регистр 72, № 7).
2.
Отмена и новый раздел подан 5-21-75; вступает в силу на тридцатый день после этого (Регистрация
75, № 21).


..
Не говоря уже о технической стороне, но я всегда называл их выходами на крышу, а когда лестницы связаны с выходом на крышу по лестнице, я говорил об этом и слышал это от архитекторов и инженеров. некоторые могут называть крышу W/X, произносимой как wixs.
11.2009, 21:12
#4
11.2009, 21:23
#6
11.2009, 11:04
#8

..?

Доступ к участкам кровли с уклоном может осуществляться через дверной или оконный проем, ведущий на крышу. Внутренние лестницы, ведущие на крышу, должны быть заключены в переборки огнестойкой конструкции».
Д. Миллер
com
12.2009, 13:20
№16