- Двухконтурный настенный газовый котел Протерм Ягуар
- Схема Электрического Котла Protherm — tokzamer.
- Обзор элекрического котла протерм protherm скат , техобзор , внутреннее устройство
- Газовый котел Протерм Пантера настенного типа установки
- Инструкция по монтажу и обслуживанию газового котла
- Словацкая Республика
- Номинальная мощность
- Давление на входе котла
- Максимальный расход
- Максимальный напор циркуляционного насоса
- Подключение отвода продуктов сгорания
- Номинальная мощность
- Давление на входе котла
- Максимальный расход
- Максимальный напор циркуляционного насоса
- Диаметр форсунки горелки
- Подключение отвода продуктов сгорания
- Рис. 1 Рабочая схема котла 24 РОО
- Рис. 2 Рабочая схема котла 24 РОV
- описание, схема устройства и работа.
- обзор, модельный ряд, инструкция, ошибки и неисправности
- особенности, плюсы и минусы, установка, модельный ряд
- Proterm Skat 12 KW ………………………………………………. 4 Управление и сигнализация……………………. 6 Выбор режима чтения……………………. 7 Выбор режима настройки ………………………. 8 Сообщения о неисправностях котла …… .. 10 Схема управления работой котла …………. 11 Характеристики котла …………………………. 12 Пуск и остановка котла …………………. 13 Регулирование работы котла……………….. 13 Защитные функции котла…………………….
- Газовый настенный котел Протерм Леопард. Системы отопления для дачи и загородных домов
- Коды ошибок газового котла Protherm
- «Протерм» газовый котел: обзор
Двухконтурный настенный газовый котел Протерм Ягуар
___________________________________________________________________________
- Протерм Ягуар — Установка и монтаж
- Неисправности и ошибки котлов Protherm
- Ремонт настенных котлов Протерм
- Эксплуатация котлов Protherm
Двухконтурный настенный газовый котел Протерм Ягуар 24 предназначен для использования в качестве составной части герметичной водной центральной системы отопления с принудительной циркуляцией.
Насос, расширительный бак и соответствующие предохранительные устройства установлены внутри котла.
Прибор снабжён встроенным устройством защиты от замерзания, что предупреждает его замораживание.
Рис.1. Функциональная схема двухконтурного котла JAGUAR 24
1. Вентилятор, 2. Прессостат, 3. Первичный теплообменник, 4. Аварийный
термостат, 5. Камера сгорания, 6. Расширительный бак, 7. Электрод
ионизации, 8.
Горячее водоснабжение (ГВС)
При наличии потребности в горячей воде, котёл Protherm Jaguar 24 начинает свою работу автоматически.
Приводится в действие встроенный
насос,
который обеспечивает циркуляцию теплоносителя первичного контура через
вторичный теплообменник, что позволяет поддерживать процесс
непрерывной передачи теплоты поступающей холодной воде.
Электронный контрольный блок котла автоматически регулирует работу горелки таким образом, чтобы поддерживать требуемый уровень температуры ГВС.
Горячая вода будет поступать через кран до тех пор, пока существует потребность.
Когда потребность в горячей воде отпадает, встроенный насос и вентилятор продолжат свою работу короткий промежуток времени (10 секунд), для того чтобы устранить теплоизбыток внутри аппарата.
Режим ГВС и отопления
При наличии потребности в отоплении, агрегат начинает свою работу автоматически.
Приводится в действие встроенный насос, который позволяет теплоносителю из первичного контура агрегата циркулировать по трубопроводу центральной отопительной системы и радиаторам.
Электронный контрольный блок настенного котла Протерм Ягуар 24 автоматически регулирует работу горелки, обеспечивая соответствие требуемой отопительной нагрузке.
Поскольку температура теплоносителя в отопительной системе повышается,
поступление газа к горелке, напротив, уменьшается, что позволяет
экономить энергию и повышает эффективность.
Когда потребность в отоплении отпадает, горелка прекращает функционировать, а котёл переходит в режим ожидания, пока снова не возникнет необходимость в отоплении.
Насос некоторое время будет работать в целях удаления теплоизбытка внутри аппарата.
Обеспечение потребности в ГВС носит приоритетный характер и блокирует режим отопления на данный промежуток времени.
Когда потребность в ГВС отпадает, котёл автоматически возвращается в рабочий режим отопления с временной задержкой или без неё.
Двухконтурный газовый котёл Протерм Ягуар спроектирован для работы в герметичных системах с принудительной циркуляцией при максимальном давлении 3 бара с расчётной температурой в подающем трубопроводе 85°С.
Предохранительно-сбросной клапан
Предохранительно-сбросной клапан является неотъемлемой частью аппарата и не может быть модифицирован.
Стоки из трубы, подсоединённой к предохранительно-сбросному клапану, не
должны выводиться над входом, окном или в любое место
общественного пользования.
Расширительный бак
Неотъемлемая часть котла Protherm Jaguar, расширительный бак, объёмом 7 литров предварительно отрегулирован на давление 0.5 бара и удовлетворяет объёму воды в системе, равному 125 л, при средней температуре воды 75°С и максимальном давлении в системе 3 бара.
Объём расширительного бака находится в зависимости от общего объёма воды в системе, а также от исходного расчётного давления в системе.
Если объём воды в системе превышает 125л, необходимо установить дополнительный расширительный бак в целях удовлетворения потребности системы.
Расход воды
При необходимости изменения расхода воды, в систему может бьггь установлен блокируемый наладочный клапан на подающем или обратном трубопроводе.
Параметр объёма воды, проходящей через котёл, не разрешено устанавливать ниже значения, приведённого в технических характеристиках котла.
Отопительный контур должен быть сконструирован и сбалансирован таким
образом, чтобы обеспечивать рост температуры с учётом положительной
разницы в 20°С на подаче и обратке.
Обвод
При работе циркуляционного насоса, необходимо обеспечить непрерывную циркуляцию воды в системе. Обратный трубопровод должен быть оборудован байпасом.
В целях обеспечения обвода через радиатор уже не дозволяется использовать вентили радиаторов без регулировки температуры.
Убедитесь в том, что ни при каких обстоятельствах параметр расхода воды не падал ниже установленного значения.
Давление воды
С тем, чтобы обеспечить наилучшую эффективность котла Протерм Ягуар по приготовлению горячей воды, рекомендуется сначала опорожнить трубопровод подачи к котлу холодной воды.
Аппарат не будет функционировать до достижения минимального давления 0.25 бара с интенсивностью подачи 2.5 л/мин. Минимальное рабочее давление для обеспечения максимального расхода потока бытовой воды составляет 0.7 бара.
Максимальное рабочее давление контура горячей бытовой воды составляет 8
баров. Если давление в подающем трубопроводе холодной воды
превышает это значение, необходимо установить редукционный клапан.
Если линии холодной воды снабжены водомером, проверьте клапан (-ы) или ослабьте запорный кран; возможно, потребуется установка мини-расширительного бака для горячей бытовой воды.
С тем, чтобы обеспечить наилучшую эффективность котла по приготовлению горячей воды, рекомендуется, чтобы патрубки к вентилям были выполнены из меди и имели диаметр 15 мм, были как можно короче, а также заизолированы в целях снижения потери теплоты,если это целесообразно.
Функции панели управления
Встроенный контрольный блок газового настенного котла Протерм Ягуар отслеживает и регулирует гидравлический контур котла, температуру ГВС воды на выходе с помощью датчиков, расположенных на выходах контуров отопления и ГВС.
Электрическое сопротивление датчиков, которое зависит от температуры, определяет значение с помощью контрольных потенциометров, расположенных на контрольной панели.
Шкала регулятора соответствующего потенциометра позволяет производить
ручную настройку требуемой максимальной температуры (ссылочная
величина), которая может находиться в пределах между 30 и 85°С для
контура центрального отопления и между 35° и 64°С для контура.
Когда котёл Протерм Ягуар функционирует в режиме отопления или горячей бытовой воды, значение сравнивается с тем, что было введено вручную.
Разница двух значений обеспечивает модуляцию газового клапана, регулируя выход выработанного полезного тепла и стабилизируя температуру в пределах ±1°С.
Функция сброса: Если аппарат заблокируется, проверьте подвод газа и расположение электрода ионизации. Котёл можно включить снова, установив положение ожидания «О» и подождав 15-30 секунд.
Функциональный переключатель: Переключатель на три позиции позволяет
изменять режим работы агрегата между режимами «Ожидание»
(центральное положение), «Отопление + ГВС» (положение слева) или «только
«ГВС» (положение справа).
___________________________________________________________________________
___________________________________________________________________________
- Неисправности котла АОГВ-23 ЖМЗ
- Параметры и устройство газовых котлов АОГВ и АКГВ
- Автоматика котла Baxi Luna-3 Comfort
- Установка и монтаж котла Бакси Слим
- Регулировки и сервисное обслуживание котла Беретта Чао
- Определение кода ошибок и неисправностей котлов Rinnai
- Ошибки и неисправности газового котла Термет
- Значение кода ошибок и неисправностей котлов Вайлант
- Определение неисправностей и ошибок котлов Висман
- Вопросы по обслуживанию котлов Навьен
- Вопросы по неисправностям дизельных котлов Китурами
- Котлы Юнкерс — На вопросы пользователей отвечают мастера
- На вопросы по котлам Electrolux отвечают специалисты
___________________________________________________________________________
___________________________________________________________________________
- Ответы экспертов по ремонту котлов Нова
- Вопросы по сервису котлов Hermann
- Ответы мастеров по обслуживанию котлов Дэу
- Вопросы по обслуживанию котлов Ферроли
- Вопросы пользователей по ремонту электрокотлов Эван
- Из-за чего газовый котел АКГВ загорается и сразу же гаснет
- В чем неисправность котла Альфа Колор, если он показывает код ошибки Е01
- Из-за чего котел АОГВ зажигается и быстро гаснет
- Как следует устранять на котле Балтгаз ошибку Е01
- В чем поломка, если котел Дани зажигается, но сразу же гаснет
- Почему котел Данко загорается, но быстро тухнет
- Котел Демрад перестал держать давление, в чем неполадка
- Из-за чего котел Газлюкс начал греться и шуметь
- В чем причина, если газовый котел Кебер загорается, но быстро тухнет
- Как следует устранять на котле Китурами ошибку с кодом 01
- Из-за чего котел Конорд загорается, но сразу же тухнет
- В чем причина, если котел Лемакс зажигается и быстро тухнет
- Из-за чего котел Мимакс зажигается, но резко тухнет?
- Почему котел Очаг зажигается, но сразу же тухнет
- Почему газовый котел Росс загорается, но быстро гаснет
- В чем неисправность, если котел Сиберия загорается и резко гаснет
- Почему котел Сигнал загорается и резко тухнет
- Из-за чего может шуметь и греться котел Термет
- Почему газовый котел Термотехник зажигается, но внезапно гаснет
- Как можно устранить на котле Термона ошибку Е01
- По причине чего двухконтурный котел Электролюкс начал гудеть и нагреваться
- По каким причинам газовый котел Ферроли выдает ошибку с кодом А01
- По какой причине котел Иммергаз не функционирует на ГВС
- Почему газовый котел Навьен при нагреве постоянно выключается и сразу включается
___________________________________________________________________________
___________________________________________________________________________
- Обвязка котлов отопления
- Котлы СТС
- Котлы КВТ на твердом топливе
- Пеллетный котел Пересвет
- Стальной напольный котел Ратон
- Твердотопливный котел Термология
- Ошибки и неисправности газового котла Термет
- Ремонт котлов Термона
- Ремонт котлов Нова
- Сервис котлов Hermann
- Сравнение газовых котлов Лемакс Премиум-20 и Данко-20с
___________________________________________________________________________
- Обслуживание котлов Дэу
- Неисправности котлов Демрад
- Неисправности котлов Мора
- Ремонт котлов Westen
- Неисправности котлов Иммергаз
- Виды котлов на твердом топливе
- Модели и конструкция комбинированных котлов
- Жидкотопливные и двухконтурные котлы
- Чугунные котлы на каменном угле
- Котлы с моделирующими горелками
- Импортные котлы для систем отопления
Схема Электрического Котла Protherm — tokzamer.
ruРассмотрим также проблемы и неисправности, которые могут возникнуть в процессе эксплуатации аппарата, ошибки и методы их устранения.
Комментарии
Статья по теме: Меры по энергосбережению
Устройство
Особенно хорошие отзывы на электрокотел Протерм Скат 6 квт, который может обеспечить небольшой офис теплом и горячей водой. Так, электрический котел Protherm Скат 9к, впрочем, как и остальные модели линейки электрических котлов компании, полностью автоматизирован, на лицевой поверхности корпуса установлен ЖК-дисплей, который отражает установленные показания.
Так, маломощные однофазные приборы имеют один однофазный нагревательный элемент, в то время как мощные трёхфазные экземпляры оборудованы тремя однофазными ТЭНами.
Необходимую температуру системы отопления, при подключении бойлера — контура водоснабжения и мощность устанавливает сам потребитель. Трехфазные состоят из трех однофазных.
Москва, Киевское шоссе, д.
Если применяется схема с принудительной циркуляцией, котлоагрегат следует устанавливать в высшей точке отопительной системы. Здесь все уже предусмотрено заводом-изготовителем и находится внутри корпуса. Ступени мощности котла Protherm Скат Гарантия Срок гарантии на данные котлы — 2 года. Любые неисправности отображаются на дисплее кодом ошибки.
Например, цена на котёл Протерм Скат 9 квт настенный двухконтурный сопоставима с ценой на котел аналогичной мощности, но одноконтурный. Электрические котлы по степени комфорта превосходят и твердо-, и жидкотопливные. F86 говорит о том, что теплоноситель в накопительном бойлере, предназначенном для ГВС, замёрз, либо его температура опустилась ниже трёх градусов. При покупке дополнительного нагревательного бойлера его можно внедрить в сеть горячего водоснабжения.
При монтировании нескольких котлов в помещении необходимо использовать параллельное подключение. Так, электрический котел Protherm Скат 9к, впрочем, как и остальные модели линейки электрических котлов компании, полностью автоматизирован, на лицевой поверхности корпуса установлен ЖК-дисплей, который отражает установленные показания. Это простое, удобное, компактное и, что важно, безопасное решение — открытого огня нет, взрываться или гореть нечему, отсутствуют вредные выбросы и неприятный запах.
Вот к насосу подобраться очень сложно, доступна только верхняя крышка где подключаются электрические провода. Электрокотел устанавливается специалистом в соответствии с проектной документацией. Электрические котлы Protherm позволяют быстро и эффективно решить проблему отопления и организовать горячее водоснабжение, используя при этом минимум трудозатрат и средств. Включает в себя промежуточное реле, предохранители, клеммные зажимы, блок питания и др.
youtube.com/embed/eF3I7zWPvHk» frameborder=»0″ allowfullscreen=»»>Навигация по записям
Но, учитывая тот факт, что средняя цена за киловатт по России составляет — 4,5 рубля, отопительный сезон длится семь месяцев, сумма окажется солидная. Панель управления оснащена функцией запоминания параметров и настройки мощности котла.
Жидкое топливо. В этом случае газовый двухконтурный котёл является более предпочтительным вариантом, так как нагрев воды для ГВС и отопления происходит в одном приборе, и подключение дополнительных устройств не требуется.
Сечение кабеля, мощность автоматических выключателей и УЗО должна быть выбрана с учетом мощности котла и циркуляционного насоса. Инструкция по эксплуатации электрических котлов Протерм Использовать отопительный котел Протерм электрического типа для обогрева помещений различного назначения не столь сложно, потому как система регулирования и управления электрическим котлом довольно-таки проста.
Имеется четыре нагревательных элемента в теплообменнике мощностью по 7 кВт каждый.
Позволяет автоматика использование электрокотла совместно с реле нагрузки.
Читайте также: Проведение энергоаудита
Инструкция для PROTHERM Скат
Очень высокий показатель КПД говорит о рациональном использовании тепловой энергии и исключении теплопотерь. Вот какое впечатление на практике произвел на меня электрокотел Protherm Скат 14К. Если требуется надолго остановить работу Protherm котла, то нужно отключить его от питания электросети и перекрыть краны. Специалисты рекомендуют пользоваться стабилизатором напряжения, для обеспечения условий нормальной работы котла Protherm Скат.
Многие отмечают прекрасно разработанный дизайн котла, который удачно вписывается в любой интерьер помещения. Для отопления конкретного помещения электрический котел подбирается в первую очередь по мощности. Кроме того, на линии отопительного контура установлены датчик температуры NTS, а также аварийный датчик, защищающий агрегат от перегрева.
Преимущества и недостатки электрических котлов Protherm Скат
ТЭНы защищены от перегрузки, работа их равномерна, это достигается путем возможности настройки ритма 1,2 или 2,3 кВт.
Дальше на самом низу расположен циркуляционный насос отопления, который гоняет воду по системе и создает необходимое давление. Установить электрический котел можно в любом месте, но это место должно обеспечить легкий доступ для регулировки агрегата или оперативного отключения в случае необходимости. Для корректной работы устройства необходимо правильно его настроить: Подключить котел в бытовую электросеть. Поделитесь статьей с друзьями:.
Обзор элекрического котла протерм protherm скат , техобзор , внутреннее устройство
Здравствуйте, сегодня у нас на канале ТеплоМонтаж обзор электрического котела Proterm Скат .
Настенный одноконтурный электрокотел Протерм Скат, 8 мощностных модификаций от 6 до 28 квт.
Данная модель у нас мощностью 6 квт. Предназначен для установки в частных домах , квартирах, технических помещениях. Котлы мощностью 6 и 9 квт имеют 2 варианта подключения к электрической сети 220 вольт и 380 вольт. Остальные, более мощные модели поддерживают подключение только 380 вольт. КПД данного котла достигает 99.5 %
В котел сразу встроены циркуляционный насос отопления, расширительный бак , группа безопасности включая предохранительный клапан , редуктор подпитки.
Примерный расчет тепловой мощности для типового частного дома высчитывается по схеме 1квт мощности котла равен 10 кв.м площади дома. То есть наш вариант мощностью 6 квт отлично подходит для дома общей площадью не более 60кв.м .
Котел производят в Словакии . Завод протрем работает по принципу 1 человек 1 котел , т.е весь производственный процесс котла производит лишь 1 человек и вспомогательные роботы , благодаря этому получается минимизировать количество брака и отследить кем и когда был собран котел.
В комплект поставки котла Протерм Скат входят : собственно сам котел, навесная планка , включая крепежный элемент , руководство по монтажу и эксплуатации , паспорт изделия.
Управление производится всего 3м кнопками , здесь мы можем настроить температуру теплоносителя в системе отопления , температуры воды в системе горячего водоснабжения , выбор мощности котла. Все очень доступно и интуитивно понятно , даже взрослый человек легко справится.
Котел имеет защитные функции . Здесь есть функция от замерзания , если температура теплоносителя упадет до 8 градусов , то насос в котле автоматически включит и начнет циркулировать , пока температура не поднимется до 10 градусов. Так же есть защита от заклинивания насоса , кратковременное включение насоса на 1 минуту если последние 24 часа насос находился в бездействии. Перебои в подаче электроэнергии , в случае если будет отключение электричества , при возобновлении его подачи котел автоматически включится с ранее заданными параметрами.
Давайте посмотрим на котел снизу.
С нижней стороны котла у нас находятся подающий патрубок и патрубок обратки системы отопления , диаметр подключения ¾ дюйма, 3 кабельных ввода, и патрубок предохранительного клапана . Так же здесь расположен манометр , на котором можно смотреть текущее давление в системе отопления.
Котел совместим с датчиками комнатной температуры , Protherm Exabasic для простой регулировки температуру воздуха в комнате и с более сложными моделями Exacontrol и exacontrol 7.
Внутренние устройство котла . Открыв крышку котла , первое что нам бросается в глаза это колбовый теплообменник , который достаточно хорошо изолирован. Так же тут установлен 2ух скоростной насос wilo, который под управлением котла переключает скорости , с автоматической системой удаления воздуха, а справа от него находится предохранительный клапан на 3 атм. Большую часть места занимает плата управления котлом, к которой можно подключить датчик наружной температуры . С обратной стороны котла находится расширительный бак объемом 7 литров.
В обзоре котла протерм скат давайте поговорим о его плюсах и минусах:
К плюсам смело можно отнести, то что все элементы находятся в одном корпусе и отлично взаимодействуют между собой . В обычном представлении электрический котел это колба с тэнами , а вокруг нее на стене развешены насос , бак , группа безопасности и прочее. Протерму же удалось все это объединить в одном корпусе . Котел можно разместить даже на кухне и он не испортит ваш интерьер.
Следующим плюсом является ступенчатое включение мощности . Обычно в котле установлено несколько электрических тен , в нашем варианте мощностью 6 квт стоит 2 тэны по 3 квт . Он автоматически в зависимости от того что нам надо , либо поддержание температуры теплоносителя , либо нагрев теплоносителя включает от одной до трех тэн . Благодаря этому происходит хорошая экономия электро энергии , а в течении месяца экономится хорошая сумма.
Гарантия от производителя 2 года , и наличие сервисных центров и запасных частей во всех крупных городах России .
Допустим ситуацию что у вас ломается котел в разгар отопительного периода , за окном -20 градусов , приезжает мастер по ремонту и диагностирует, что из строя вышла какая-нибудь деталь. Если это котел неизвестного производителя , вы едете в сервисный центр что бы приобрести деталь , вам говорят что срок ожидания этой детали под заказ 2 недели . Волосы на голове встают дыбом , ведь за 2 недели весь дом выстынет . Вариант только один покупать новый котел и экстренно менять. В случае же со знаменитыми брендами , все намного легче , зап.часть будет в наличии в вашем городе , а если повезет то возможно и в машине у мастера.
Минусы котла :
К минусам можно смело отнести цену. Как и всегда качественная вещь стоит дороже своих конкурентов . Средняя стоимость котла около 500 евро. Так же к минусам можно отнести высокую стоимость расходных материалов . На этом минусы данного котла заканчиваются.
Выводы . Котел протерм скат отлично подходит отопления для дач где нет необходимости в газовом отоплении, так же для частных домов где нет возможности провести газ .
Так же котел можно использовать как резервный в системе газового отопления. В интернете достаточно хороших отзывов. Если у вас есть возможность потратить 500-700 евро и , смело берите котел протрем , это лучшее решение на рынке.
Газовый котел Протерм Пантера настенного типа установки
Содержание
- Модельный ряд
- Пантера КТВ
- Серия КОВ
- Котельное оборудование серии КТО
Настенное отопительное оборудование, работающее на газе, широко распространено среди обладателей квартир в многоэтажных домах. Это единственные экономически выгодные обогреватели, применяемые для создания автономных отопительных систем не требующие сложной дымоходной системы.
Прямые конкуренты подобного оборудования — электрические обогреватели, но цена на электроэнергию существенно выше по сравнению с тарифами на природный или бытовой газ. Довольно широкое распространение получили настенные газовые котлы Пантера Протерм производимые в Словакии и обладающие всеми преимуществами газовых отопительных устройств.
- Высокая экономичность, достигаемая за счет различных контролеров самостоятельно изменяющие объем потребляемого газа в зависимости от климата внутри отапливаемого помещения.
- Низкая стоимость природного газа по сравнению с другими энергоносителями.
- Настенные газовые котлы отопления Протерм, несмотря на высокий функционал, занимают мало места и пригодны для установки в помещениях с ограниченной площадью.
- Встроенные предохранительные клапаны обеспечивают безопасную работу оборудования на всех этапах.
- Легкое и интуитивно доступное управление позволяет управлять котлом людям без специализированного технического образования.
Котельное оборудование Протерм серии Пантера выпускается в нескольких конфигурациях, отличающихся мощностью и некоторыми техническими особенностями:
Пантера КТВ
Котельное оборудование этой серии выпускается с диапазоном мощности от 12 до 32 кВт, что вполне достаточно для обеспечения горячей водой и теплом дом, в котором проживает большая семья.
Настенные газовые котлы Протерм Пантера 25 КТВ оснащаются пластинчатым теплообменником, изготовленным из нержавеющей стали, позволяющим быстро нагревать большой объем горячей воды.
Уникальная конструкция котла дает возможность получить горячую воду менее чем за 5 секунд после запуска котла. Нержавеющая сталь, выбранная в качестве основного материала для теплообменника, отлично противостоит коррозийным процессам, не боится термических ударов и достаточно пластична для работы с переменным давлением воды или теплоносителя в системе.
Газовый котел Протерм Пантера мощностью 24 кВт обеспечивается системой принудительного отвода остаточных продуктов горения через коаксиальный дымоход. Через него же в камеру сгорания подается воздух при помощи специальных вентиляторов. Эта система дает возможность монтажа газового оборудования в помещениях и зданиях, где установка обычного дымохода невозможна, в частности квартиры в многоэтажных домах.
В настенных газовых котлах Protherm Пантера 25 KTV предусматривается режим самодиагностики, во время работы которого вся необходимая информация отображается на небольшом ЖК-дисплее.
Этот же экран используется для настроек котла и отображения текущей используемой программы.
Наиболее мощный котел Протерм Пантера 30 KTV способен обеспечивает до 14 л/мин горячей воды, модульно распределяя мощность горелки, позволяя отдельно регулировать температуру нагрева теплоносителя в системе отопления и воды в системе ГВС. Для горячей воды диапазон регулировки составляет +38 — +60, а для теплоносителя от 38 до 80 градусов. Датчик нагрева теплоносителя или горячей воды находится на выходном патрубке котла, это обеспечивает максимально точные показатели температуры жидкости в данную минуту.
В котёл Protherm Пантера 30 KTV интегрирован циркуляционный насос и расширительный бак на 8 литров. Это дает возможность подключать оборудование к уже имеющимся закрытым отопительным системам без дополнительных устройств.
Серия КОВ
Отопительное оборудование серии КОВ способно нагревать воду и теплоноситель системы отопления в двух отдельных теплообменниках из нержавеющей стали.
Камера сгорания двухконтурного котла Протерм Пантера 25 KOV оснащается модульной газовой горелкой с плавной регулировкой интенсивности горения, обеспечивающей мощность в 23 кВт.
Система безопасной работы в модели Protherm Пантера 25 KOV предусматривает:
- Устройство, предохраняющее котел от замерзания и автоматически включающее циркуляционный насос, а затем и горелку в случае, если температура теплоносителя падает ниже установленной отметки.
- Датчик контроля горения пламени, прекращает подачу газа, если огонь в топке затухает по каким-либо причинам.
- Контролер тяги, прекращает работу котла, если тяга в коаксиальном дымоходе пропадает, и продукты горения перестают выводиться из камеры сгорания.
- Система защиты от перегрева охлаждает теплообменник при достижении температурного порога в +110˚С.
- Настенные газовые котлы Protherm Пантера24 KOV и другие модели котлов этого производителя оснащаются циркуляционными насосами с интеллектуальной системой устранения воздушных пробок в отопительной сети.
Для этого в насосе предусмотрен стравливающий воздушный клапан.
Котельное оборудование серии КТО
Котлы Protherm Пантера 25 КТО предназначены для работы с внешними бойлерами косвенного нагрева. Особенностью оборудования является интегрированная система диагностики котла и подключенного бака. Как и в других моделях, регулировка температуры теплоносителя и температуры нагреваемой во внешнем резервуаре воды, регулируется отдельно.
Все технические показатели и температура воды отображается и изменяется пользователем при помощи контрольной консоли с дисплеем. В данной модели нагрев воды в бойлере косвенного нагрева имеет преимущество и в автоматическом режиме вся мощность котельной установки может переключаться при резком падении температуры воды, отопительный контур в это время не нагревается.
Дополнительно подключаемые погодозависимые контролеры позволяют сэкономить топливо и увеличить комфорт эксплуатации оборудования.
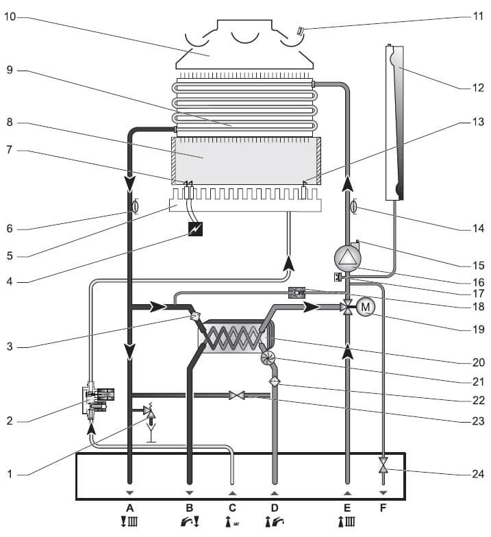
youtube.com/embed/z1NhQ24sH_M?feature=oembed» frameborder=»0″ allow=»accelerometer; autoplay; encrypted-media; gyroscope; picture-in-picture» allowfullscreen=»»>Инструкция по монтажу и обслуживанию газового котла PROTHERM 24 POO PROTHERM 24 POV Версия 11Сертификат соответствия № РОСС SK.МГ01.B00635 Производитель : PROTHERM общ.огр.отв. ул. Плюштя, 45, 909 01 Скалица Словацкая РеспубликаУважаемый Покупатель ! Вы стали владельцем газового котла PROTHERM. Мы уверены, что при правильной эксплуатации, котел Вас будет полностью удовлетворять. Поэтому внимательно изучите эту инструкцию и соблюдайте правила обслуживания. Основные условия для монтажа и эксплуатации котла :
1. Газовый котел PROTHERM 24 POO предназначен для нагрева отопительной воды (в дальнейшем, ОВ), а котел PROTHERM 24 POV и для подготовки горячей воды (в дальнейшем, ГВС) проточным способом. Котлы предназначены для бытового применения. Котлы PROTHERM 24 POO, 24 POV производится с номинальной мощностью 24 кВт для работы на природном газе и сжиженном газе (пропан-бутан). Котлы имеют следующие характеристики :
2. Оснащение котла Источником тепла является газовая горелка современной конструкции от фирмы POLIDORO (Италия). Подача газа в горелку управляется комбинированной газовой арматурой итальянского производства SIT NOVA. Полное использование тепла продуктов сгорания ОВ обеспечивает медный теплообменник итальянского производства GIANNONI. Поверхностная обработка теплообменника (включая ребра) — это смесь силикона и тефлона, при чистке необходимо соблюдать осторожность во избежание ее повреждения. Для нагрева ГВС (24 POV) используется медный теплообменник той же фирмы. Использование меди в обоих случаях является гарантией высокой скорости теплообменного процесса и длительного срока службы. Принудительную циркуляцию ОВ обеспечивает трехскоростной насос от фирмы GRUNDFOS, характеризуемый тихим ходом и высокой надежностью. Котел имеет встроенный расширительный бак (закрытый) с мембраной с номинальным объемом 7 литров, выравнивающая емкость которого оснащена ниппелем (как вентиль шин). Возможные остатки воздуха в котле отводятся с помощью насоса через автоматический воздухоотделитель , который находится на самой высшей рабочей точке котла — запорный колпачок при работе котла должен быть ослаблен ! При отборе ГВС (24 POV) принудительная циркуляция ОВ переключается трехходовым клапаном из отопительной системы полностью в резервуар ГВС, после окончания отбора горячей воды трехходовой коапан отключает проток через резервуар ГВС и вновь подключает систему отопления. В случае потери воды действует реле минимального давления, который автоматически подает сигнал, если поддерживается необходимое давление воды в отопительной системе. Этот сигнал обуславливает функцию работы котла. В функции теплового предохранителя действует аварийный термостат, который не допускает превышения температуры воды выше 105 0 С. В функции предохранителя давления выступает предохранительно-сбросной клапан, установленный на давление срабатывания 250 кПа. В функции предохранителя потери тяги действует предохранительный термостат (термостат продуктов сгорания). Котел оснащен пилотной горелкой (запальником), который обеспечивает безопасность зажигания газовой горелки. Зажигание пилотной горелки проводится пьезозапальником. 3. Монтаж котла. 3.1. Общие сведения для установки котла Котел может быть введен в эксплуатацию только уполномоченной организацией согласно утвержденных норматив. Для установки котла, его введения в эксплуатацию, а также для гарантийного и послегарантийного обслуживания служит специализированная дилерская сеть производителя. Типы котлов PROTHERM 24 POV — ZP и 24 POO — ZP предназначены для работы на природном газе с номинальным давлением в распределительной сети 1,8 кПа с теплотворной способностью от 9 до 10 кВтчас/м3. Типы котлов PROTHERM 24 POV — РВ и 24 POO — РВ предназначены для работы на сжиженном газе (пропан – бутан) с теплотворной способностью от 12,5 до 12,9 кВтчас/кг. Ввиду того, что эксплуатация котла с применением баллонов проблематична прежде всего с точки зрения обеспечения достаточного количества, а также их дальнейшего использования, предусматривается одновременное использование газгольдера вблизи отапливаемого объекта и его наполнение уполномоченной организацией. Расчеты достаточных размеров подачи пропан — бутана из газгольдера в котел или к другим газовым приборам являются частью проекта и поставки газгольдера. С помощью редукционного напорного клапана необходимо обеспечить номинальное давление 3,0 кПа перед котлом. Котел сконструирован для отвода продуктов сгорания в дымоход с устойчивой тягой от 2 до прибл. 200 Па. Присоединение котла к дымоходу проводится через дымоотвод 135 мм (24 кВт). Не разрешается помещать в дымоотвод предметы, ограничивающие прохождение продуктов сгорания (напр., различные виды теплообменников для использования их остаточного тепла). Дымоотвод не является частью оснащения котла. Диаметр дымоотвода не может суживаться в направлении к выходу дымохода. Если по расчетам или экспериментальным измерениям (согласно установленных норматив) будет доказано, что для отвода продуктов сгорания достаточно меньшего диаметра, можно за горловиной прибора уменьшить диаметр дымоотвода. Воздух для сгорания котел отбирает из пространства, в котором он размещен. Минимальные размеры помещения должны быть такими, чтобы на каждый 1 кВт мощности котла приходилось примерно 1 м 3 (точнее 0,8 м3) пространства, кроме того, помещение должно проветриваться прямым способом. Котел сконструирован для работы с отопительной водой, которая ни в коем случае не должна быть кислой, т.е. величина рН должна быть 7 и должна иметь минимальную карбонатную жесткость. Перед котлом (т.е. на трубопровод с обратной ОВ) устанавливается фильтр или подобное оборудование (напр., грязевик). На функциональные неисправности, вызванные механическими загрязнениями не распространяется общая гарантия (см. ГАРАНТИЙНЫЙ ЛИСТ). Фильтр необходимо регулярно проверять и чистить, первый раз после введения в эксплуатацию (после т.н. „первого затапливания“), второй раз, напр., спустя неделю после введения в эксплуатацию, в дальнейшем в более длительных интервалах (напр., 1 раз за 3 месяца, „перед сезоном, после сезона „ и т.д.). Требования к качеству горячей воды определяют установленные нормы к качеству питьевой воды. При размещении котла не разрешается устанавливать вблизи него предметы : — из прочих горючих материалов ближе, чем на 100 мм от контуров котла. — из легко горючих веществ, напр., древесноволокнистые плиты, полиуретан, облегченный ПВХ, синтетические волокна, резина и т.п. на расстояние меньше, чем 200 мм от котла. Электротехническая часть котла предназначена для среды нормальной с температурой не ниже 50 С. Котел отвечает требованиям норматив для прямого размещения в жилых и общественных помещениях. Перед котлом должно быть достаточное пространство для производства работ по обслуживанию (не менее 0,6м). Предупреждение: При эксплуатации котла могут возникнуть ситуации, при которых потребитель должен соблюдать необходимые меры : а) для предотвращения случайного пуска котла при осмотре и работе с дымоходом и трубопроводами газа и воды, необходимо отключить подачу электрической энергии в котел не только выключателем на котле, но отсоединением электрического штекера из розетки или отключением соответствующего предохранителя. б) отключить котел, если в окружающем пространстве появятся (и временно) горючие и взрывоопасные пары (напр., испарения красок при покраске,при утечке газа и т.п.). в) при сливе воды из котла или системы отопления необходимо соблюдать осторожность. г) при утечке воды из отопительной системы или системы ГВС, включать котел до устранения причин нарушения, запрещается. 3.2. Установка котла. Котел подвешивается с помощью двух винтов с мин. 6 мм на стену. Под головками винтов размещаются соответствующие прокладки — см. рис.3. Присоединительные окончания имеют внешнюю резьбу: — газ …………………………..G 1/2“ — ГВС …………………………G 1/2“ (только для 24 POV) — ОВ …………………………..G 3/4“ На нижней стороне котла находится выход от предохранительно-сбросного клапана и кран заполнения системы. При превышении максимального давления в системе из выхода от предохранительно-сбросного клапана может вытекать вода или произойти выброс пара. Присоединительные окончания котла нельзя нагружать комплектом труб отопительной системы, системы ГВС или подачи газа. Необходимо точно соблюдать установленные размеры окончаний всех присоединительных трубок, как в высоту, так и расстояние от стены и между отдельными входами и выходами. При ремонте, неблагоприятных строительных планировках и т.п., можно подключить котел к отопительной системе, системе ГВС и подаче газа специальными гибкими шлангами. При использовании гибких шлангов, они должны быть короткие (0,5м), защищены от механической и химической нагрузки и повреждений, перед окончанием их срока годности или надежности (согласно данных производителя) должны заменяться за новые. Посоединение котла на трубопроводы ориентированы горизонтально назад (к стене), различается от подсоединения предшествующих типов, которые были ориентированы вертикально вниз (на пол).Для подсоединения нового типа котла на трубопроводы предшествующего типа (замена котла и т.п.), производитель поставляет «Комплект подсоединения», который складывается из необходимого количества медных коленообразных труб с накидными гайками (на стороне «к котлу») и с внешними резьбами с размерами выходов котла (остаются неизмененными) на стороне «к трубопроводам». 3.3. Электрическое подключение котла Электрическое подключение котла к напряжению в сети проводится трехжильным гибким кабелем с вилкой. Для питания необходима специальная штепсельная розетка, исключающая ошибку подключения «ноль-фаза». Не разрешается использовать различные тройники, удлинители и т.п. Котел защищен от перегрузки и короткого замыкания плавким предохранителем (Т 1,6А/250В), размещенным между сервисными элементами. Установку штепсельной розетки, подключение комнатного регулятора, а также сервис электротехнической части, что представляет собой вмешательство во внутреннюю электропроводку котла, может проводить только квалифицированный электрик. Для работы с электрической частью необходимо отключить котел из сети отсоединением электрического штекера из розетки ! Комнатный регулятор с бес потенциальным выходом подключается проводником на клеммы 1, 2 клеммника котла (перемычка клемм 1, 2 устраняется). Клеммник котла доступен после снятия кожуха и открытия панели управления. Если используется комнатный регулятор, требующий для работы 230 В (биметаллический с нагревательным сопротивлением), то фазовую клемму (L) регулятора соединяем с клеммой 2 котла, а нулевую фазу (N) регулятора — с клеммой 3 котла. Выходящую клемму регулятора соединяем с клеммой 1 котла. Для подключения регулятора отопления необходимо соблюдать условие, что в котел ни в коем случае нельзя подключать иное внешнее напряжение. Внешнее покрытие соединено с корпусом котла в левом верхнем углу винтом с резьбой в жести и защитным проводником заземления , который плоским коннектором прикреплен приблизительно в середине нижнего края покрытия (с внутренней стороны). Выкручивается винт, а внешнее покрытие вытягивается на себя (осторожно приподняв). Потом отключается защитный проводник, а внешее покрытие можно снять и отложить.На верхней грани пластмассовой панели на его двух сторонах находятся пружинные замки. Легким нажатием на замки по направлению к середине панели и одновременным потягиванием за верхнюю грань панели, можно панель открыть. 3.4. Особенности отопительной системы и ее залив. Отопительную систему необходимо решать таким образом, чтобы через некоторые из отопительных приборов постоянно циркулировала ОВ . Перед соединением котла, систему необходимо промыть, чтобы удалить возможные механические загрязнения. Полная деаэрация теплообменника при заливе для нагрева ГВС в котле 24 POV достигается использованием ручного воздушного вентиля не нем. Подсоединением котла к системе возникает отопительная система (т.е. система и котел вместе), которая одновременно оснащается (вне зависимости от собственного оснащения системы): — 1–м закрытым расширительным баком с мембраной с номинальной емкостью 7 лит — 1-м предохранительно-сбросным клапаном с давлением срабатывания 250 кПа. Для полного и экономичного теплообменного процесса для ОВ, система должна быть заполнена не менее 100 кПа гидравлического давления (измеряется манометром на котле). Отопительная система была закрытая с рабочей температурой воды до 85 0 С (измеряется термометром на котле). Расширительный бак (давление в его выравнивающей части) обеспечивает объём воды в системе до 95 лит воды, защищает от резких колебаний давления и неблагоприятной нагрузки всех составных частей во время работы. Минимальная величина давления воды в системе в статическом состоянии постоянно определяется красной (регулируемой) стрелкой котлового манометра. При понижении давления ниже обозначенной величины, необходимо найти и устранить не герметичность или более тщательно удалить воздух из системы ( или и то, и другое). Если понижение давления повторяется, а вся отопительная система полностью герметична и надлежащим образом обезвоздушнена, необходимо пригласить сервисную организацию. 4. Описание функций управляющих элементов. Размещение отдельных управляющих и сигнализирующих элементов котла изображено на рис.панели управления. Потребителю котла при его обслуживании разрешается манипуллировать только с элементами регулирования, размещенными на панели управления! Термометр и манометр контролируют температуру ОВ. Главный выключатель — выключает подачу электрической энергии для всего котла. Переключатель ЛЕТО-ЗИМА — служит для выбора работы в режиме : — ЛЕТО (обозначение «солнышко») — котел обеспечивает только подготовку ГВС
Рабочий регулятор отопления (обозначение «радиатор») — служит для установки температуры ОВ. Рабочий регулятор ГВС — служит для установки температуры ГВС (только 24 POV). Сетевая контрольная лампочка – сигнализирует подключение котла к сети. Переключатель мощности котла (только 24 POV) – в режиме отопления служит для установки полной или ½ мощности. Переключатель хода насоса (только 24 РОО) – позволяет настроить постоянный или прерывистый ход насоса, который зависит от подключения регулятора отопления. На выходе котлового теплообменника находится аварийный термостат, имеющий форму кнопки и оснащенный красной разблокирующей кнопкой. При срабатывании термостата ( при высокой температуре), необходимо обновить его функцию нажатием разблокирующей кнопки (после охлаждения). На выходе из теплообменника на трубке находится вспомогательный термостат, ограничивающий циклирование котла. Прямо на крыле выпрямителя тяги размещен предохранительный термостат продуктов сгорания, имеющий также форму кнопки. Этот термостат обратимый и обновляет свою функцию после охлаждения, т.е. через 10 минут.Реагирует на превышение температуры продуктов сгорания при недостаточной тяге или потери тяги дымохода. 5. Обслуживание котла. 5.1. Подготовка и пуск котла Подготовка и пуск котла являются составной частью введения котла в эксплуатацию — проводит профессиональный сервис ! Проверяем давление воды на котловом манометре. Открытием газового вентиля пускаем газ в котел. Производим зажигание запальной горелки (рис. 5) : а) регулятор газовой арматуры устанавливаем в положение „искра“, нажимаем ее и, одновременно, несколько раз нажимаем пьезозапальник. После зажигания пилотной горелки держим регулятор газовой арматуры нажатым еще 10 сек. (необходимо для достаточного нагрева термопредохранителя). б) регулятор газовой арматуры устанавливаем в положение „факел“. При установке регулятора газовой арматуры необходимо осторожно нажать и повернуть в требуемом направлении. А. Тип 24 РОО : Рабочий регулятор устанавливаем прибл. на 1/2 часть его диапазона. Включаем сетевой выключатель. Если регулятор отопления в положении „включено“, котел начинает розжиг и топит. В. Тип 24 POV: Переключатель ЛЕТО-ЗИМА устанавливаем в положение „ЗИМА“. Рабочие регуляторы отопления и ГВС устанавливаем прибл. на 1/2 часть их диапазонов. Включаем сетевой выключатель. Если регулятор отопления в положении „включено“, котел начинает розжиг и топит. При необходимости регулирования мощности — последовательность указана на рис. 6,7 и 8. Давление газа измеряется на специальном выходе газовой арматуры с помощью U — манометра. 5.2. Первое затапливание. Первое затапливание — это короткая энергичная работа котла после его окончательного подсоединения к системе. Оно является составной частью введения котла в эксплуатацию и проводится профессиональным сервисом. Управляющие элементы котла (рабочие регуляторы, комнатный регулятор) устанавливаем так, чтобы была достигнута самая высокая возможная температура ОВ в отопительной системе и, одновременно, как можно меньшее количество отключений (выключении) котла. В этих условиях поддерживается вся отопительная система (котел и система), пока не стабилизируется (т.е. до выравнивания температуры и на самом отдаленном радиаторе) и потом еще в течение по крайней мере одного часа. Котел выключается. Отмечается величина давления (на котле). Котел охлаждается. При понижении температуры контролируется давление. При значительном понижении давления необходимо найти не герметичности, устранить их и повторить первое затапливание. 5.3. Описание работы котла. 5.3.1. Работа котла 24 РОО : Котел можно использовать для нагрева ОВ двумя способами : а) без регулятора отопления Если для управления котла не используется комнатный регулятор, можно процесс отопления регулировать температурой ОВ, которую установим рабочим регулятором отопления, помещенном на панели управления. После достижения этой температуры котел отключается.Температура ОВ должна быть выбрана такая, чтобы была достаточна для отапливания объекта. Например, при низких внешних температурах, необходимо температуру ОВ установить выше, в переходном сезоне (весна, осень) достаточна температура низшая. В зависимости от внешних температур необходимо регулировать температуру ОВ, в обратном случае может произойти перегрев или недостаточное отапливание объекта. б) с регулятором отопления Регулятор отопления обеспечивает поддерживание постоянной температуры в отапливаемом объекте вне зависимости от изменений внешней температуры. Температура ОВ однако должна быть установлена на температуру, которая будет достаточна для отапливания объекта и при низких внешних температурах. Котел отапливает, пока не достигнет той температуры в помещении, которая установлена на комнатном регуляторе. 5.3.2. Работа котла 24 POV : Для данного типа котла рабочий регулятор отопления остается в действии и при подготовке ГВС, а при достижении температуры ОВ, которая на нем установлена, котел выключается. Если эта температура очень низкая, влияет и на температуру ГВС. Чтобы часто не изменять установку рабочего регулятора отопления, лучше установить ее на высшую температуру (напр., максимальную), а режим отопления регулировать только термостатом отопления. При отборе ГВС котел можно использовать двумя способами : а) установить высшую температуру ГВС, отрегулировать работу котла на полную мощность и проводить отбор такого количества воды, которое котел при полной мощности может нагреть, т. Иногда можно установить температуру ГВС низшую, отрегулировать работу котла на пониженную мощность и проводить отбор такого количества воды, которое котел при пониженной мощности может нагреть, т.е. температура выходящей воды не повышается и не понижается. Необходимый объём выходящей воды в этом случае меньше. Чтобы стабилизировалась работа котла при двух установках температуры, необходимо количество отбираемой воды до регулировать краном в зависимости от потребления. б) установить температуру ГВС в зависимости от фактических потребностей и отрегулировать работу котла на чередование полной и пониженной мощности. После открытия крана ГВС, котел автоматически переключится на полную мощность. При достижении температуры выходящей воды величины, которая установлена на рабочем регуляторе ГВС, котел переключится на пониженную мощность. Температура воды понижается и котел опять переключается на полную мощность. В переходное время можно настроить полную или ½ мощность котла в отопление с помощью переключателя мощности. 5.4. Отключение котла. Кратковременное отключение котла проводится выключением сетевого выключателя. При длительном отключении выключаем сетевой выключатель, отключаем котел из сети и закрываем подачу газа в котел. Если не угрожает замерзание котла, можно оставить в нем воду — в противном случае, необходимо слить воду из котла и системы. Если устройство отопительной системы позволяет, в случае демонтажа котла можно слить воду только из него, отопительную систему можно оставить наполненную водой, чтобы не возникала коррозия. 6. Обслуживание котла 6.1. Специальное техническое обслуживание Один раз в год, лучше всего перед началом отопительного сезона, рекомендуется провести осмотр и проверку котла сервисной организацией. Этот осмотр не является составной частью гарантии. При осмотре необходимо провести проверку функции и состояния горелки, проверку и настройку мощности, проверку герметичности соединений дымохода (в случае необходимости, отстранения неисправностей), чистку форсунок горелки (внимание — нельзя изменить их внутренний диаметр !), чистку котлового теплообменника (с помощью специального распылителя) и установку пламеня пилотной горелки. Особенно важно проверить действие предохранительно-сбросного клапана, аварийного термостата и термостата продуктов сгорания. Замена вида топлива — природный газ на пропан-бутан и наоборот, проводится только сервисным техником (!) в следующей последовательности :
пропан-бутан – 0,72 мм
а) для природного газа – это, напр., прокладочная конопля, пропитанная олифой, льняным маслом и т.п. б) для пропан — бутана – это прокладочная конопля, пропитанная спиртовыми растворами, выработанными или из ламповой черной краски (тип HERMETIC) или из шеллака с примесью расплавленного графита. Внимание : При реконструкциях используются только оригинальные комплектующие, поставляемые производителем или им рекомендованным поставщиком
А) природный газ Максимальная мощность 24 кВт — давление 120 мм водяного столба Пониженная мощность 12 кВт — давление 35 мм водяного столба Б) пропан-бутан Максимальная мощность 24 кВт — давление 270 мм водяного столба Пониженная мощность 12 кВт — давление 90 мм водяного столба
А) непосредственно на котле обозначается какой вид топлива котел будет использован Б) в сопроводительной технической документации записываются дата и данные сервисного техника, проводившего вышеприведенные операции. 6.2. Обслуживание котла, проводимое потребителем. а) при необходимости помыть кожух котла теплой водой с небольшим количеством моющего средства б) один раз в неделю проверить давление воды в отопительной системе, в случае необходимости подпитать систему отопления (см. пункт 3.4.). в) проверить герметичность соединений колена и прямого участка трубопровода для отвода продуктов сгорания г) в случае утечки газа котел необходимо отключить , закрыть газовый вентиль и пригласить сервисную организацию. 7. Меры безопасности . Котлы (и их вспомогательное оборудование) отвечают нормативным требованиям Чехии, Словакии, России, Украины, Беларуси, Казахстана, Латвии и Литвы. Необходимо также исключить возможный доступ к оборудованию детей без наблюдения взрослых, недееспособных лиц и т.д. 8. Гарантия и гарантийные условия. На газовые котлы PROTHERM 24 POV, 24 POO предоставляется гарантия на основании ГАРАНТИЙНОГО ЛИСТА и условий, приведенных в нем. 9. Комплектность поставки. 9.1. Стандартная поставка Котлы PROTHERM 24 POV, 24 POO поставляются комплектно смонтированные и функционально испытанные. Составной частью поставки является и следующая документация : — инструкция для обслуживания — паспорт изделия — гарантийный лист 9.2. Специальная поставка По специальной заявке к котлу поставляется самостоятельно размещаемый комнатный регулятор отопления. 10. Транспортировка и хранение. При транспортировке и хранении котел защищен упаковкой от завода-изготовителя — необходимо исключить силовую нагрузку на упаковку, избегать столкновений и, кроме случаев распаковки, не давать котел в такое положение, чтобы мог выпасть из упаковки. При хранении необходимо обеспечить стандартные складские условия (неагрессивная и безпыльная среда, диапазон температур 5 — 500 С, влажность воздуха до 75 , ограничения биологического влияния, толчков и вибраций). 11.Технические параметры котла PROTHERM 24 POO
12.
13. Производитель оставляет за собой право изменять конструкции изделий, вытекающие от инновационных или технологических изменений, не отраженных всегда в инструкции. Рис. 1 Рабочая схема котла 24 РОО1 — предохранительный термостат 8 — комбинированная газовая арматура продуктов сгорания 9 – реле минимального давления 2 — прерыватель тяги 10 — насос 3 — расширительный бак 11 – кран заполнения системы 4 — котловой теплообменник 12 — выход от предохр.-сброс.клапана ( продукты сгорания/вода) 13 — выход ОВ 5 — горелка 14 — вход газа 6 – автомат. воздухоотделитель 15 — вход ОВ 7 – предохранит. — сбросной клапан 16 — залив воды в систему Рис. 2 Рабочая схема котла 24 РОV1 — предохранительный термостат 11 – трехходовой клапан продуктов сгорания 12 — насос 2 — прерыватель тяги 13 — кран заполнения системы 3 — расширительный бак 14 — выход от предохр.-сброс. 4 — котловой теплообменник 15 — выход ОВ ( продукты сгорания/вода) 16 — выход ГВС 5 — горелка 17 — вход газа 6 – автомат. воздухоотделитель 18 — вход ГВС 7 – теплообменник ГВС (вода/вода) 19 — вход ОВ 8 – предохр. — сбросной клапан 20 — залив воды в систему 9 — комбинированная газовая арматура 10 – реле минимального давления Рис. 3 Соединительные и основные размеры котла 1 — выход ОВ (резьба G3/4“) 6 — выход от предохран.-сбросного 2 — выход ГВС (резьба G1/2“)* клапана 3 — вход газа (резьба G1/2“) 7 — наружная стена 4 — вход ГВС (резьба G1/2“)* 8 — крепление на стену 5 — вход ОВ (резьба G3/4“) 9 — корпус — шасси * — поз. 2 и 4 действительны только для котла 24 POV Рис. 4 Панель управления и сервисные элементы 1 — термометр ОВ 7 — сетевой выключатель 2 — манометр ОВ 8 – сет.контрол.лампочка 3 — рабочий регулятор ГВС 9 – сигнализ. (только тип 24 POV) состояния 4 –раб.регулятор отопления 10 – регулятор газовой арматуры 5 — переключатель ЛЕТО-ЗИМА арматуры 6 – переключатель мощности 11 — пьезозапальник Рис. 5 Последовательность включения и выключения котла Шаг 1 — кнопка в положении „точка“ „Вечное пламя“ и главная горелка погашены (подача газа к ним заблокирована) Шаг 2 — кнопка в положении „искра“ В этом положении кнопка управления держится нажатая до упора(!), одновременно нажимается (несколько раз) пьезозапальник, пока не появится „вечное пламя“. Кнопка держится нажатая (еще 10 сек. после зажигания пламени), пока не сработает термопредохранитель, потом можно кнопку пустить (подача газа к главной горелке остается заблокированной). Шаг 3 — кнопка в положении „факел“ Подача газа к главной горелке разблокирована и зажигание горелки управляется автоматически ( горелка зажигается, если на закрывающийся электровентиль арматуры SIT-NOVA подается рабочее напряжение из контура внутренней проводки котла). Шаг 4 — кнопка опять в положении „точка“ „Вечное пламя“ и главная горелка (если горят) погаснут — первоначальное положение (в шаге 1). Предупреждение: если кнопка управления переставится в дальнейшее положение (в положение „искра“ — как в шаге 2), „вечное пламя“ не зажжется, пока не ослабится т.н. внутренний замок арматуры, т.е. пока не пройдет прибл. 60 сек от погасания. Установка регуляционного винта в требуемое положение достигается при легком нажимании на винт. Рис. 6 Комбинированная газовая арматура SIT — NOVA 820 (котел 24 РОО — элементы регулировки и главные части) 1 — регуляционный винт 2 — задающее устройство (кнопка управления) 3 — измерительное место давления на выходе из арматуры 4 — измерительное место давления на входе в арматуру 5 — вход газа 6 — выход газа 7 — подача газа к „вечному пламени“ (резьба М 10 х 1) 8 — подсоединение термопредохранителя 9 — регуляция газа „вечного пламени“ (винт « ПИЛОТ») Процесс установки: — отстранить охранный болт . — при повороте регуляционного винта по часовой стрелке давление на выходе повышается (и наоборот) на требуемую величину.. После общей установки: Навернуть до упора охранный болт. Регулировка газа для „вечного пламени“: При повороте винта «ПИЛОТ» по часовой стрелке проток газа уменьшается ( и наоборот). Примечание : После окончания процесса настройки необходимо сконтролировать герметичность и эксплуатацию использованного прибора. После регулировки болты необходимо застабилизировать (напр., капелькой краски). Рис. 7 Комбинированная газовая арматура SIT — NOVA 824 (котел 24 РОV — элементы регулировки и главные части) А — Покрытие регуляционных винтов В — Регуляционный винт „минимума“ С — Регуляционная гайка „максимума“ 1 — вход газа 2 — выход газа 3 — задающее устройство (кнопка управления) 4 — модулятор 5 — измерительное место давления на входе в арматуру 6 — измерительное место давления на выходе из арматуры 7 — регуляция газа „вечного пламени“ (болт ПИЛОТ) 8 — подача газа для „вечного пламени“ (резьба М 10 х 1) 9 — подсоединение термопредохранителя Процесс установки: Установка „максимума“ (т.
Установка „минимума“ (т.е. сниженной мощности) :
После общей установки:
Регулировка газа к „вечному пламени“: При повороте винта «ПИЛОТ» по часовой стрелке проток газа уменьшается ( и наоборот). Примечание : После окончания процесса настройки необходимо сконтролировать герметичность и эксплуатацию использованного прибора. После регулировки болты необходимо застабилизировать (напр., капелькой краски). Рис. 8 График зависимости мощности котла от давления, выходящего из арматуры Рис. 9 Схема электрического подключения котла PROTHERM 24 POO HV – сетевой выключатель PO1 – сетевой предохранитель DT1 – сигнализ. «котел включен», зеленая кнопка DT2 – сигнал.перегрева котла или потеря тяги дымохода, оранжевая кнопка SSV – реле минимального давления C1 – сетевой фильтр 100nF/275V T85 – ограничительный термостат PTTOP – рабочий термостат отопления HT – аварийный термостат TS – термостат системы контроля тяги дымохода L-Z – переключатель ЛЕТО-ЗИМА, в положении ЗИМА
|
описание, схема устройства и работа.
Рынок систем отопления позволяет купить котлы отопления любого типа, от газовых и твердотопливных, до электрических и электродных.
Можно долго спорить о том, какие котлы отопления более популярны, электрические или газовые. Однако эти споры будут бесполезны для домовладельца, у которого дом стоит в тысячи вёрст от газовой магистрали, а линия электропередач находится «под боком».
Вступление
Рынок систем отопления позволяет купить котлы отопления любого типа, от газовых и твердотопливных, до электрических и электродных. Можно долго спорить о том, какие котлы отопления более популярны, электрические или газовые. Однако эти споры будут бесполезны для домовладельца, у которого дом стоит в тысячи вёрст от газовой магистрали, а линия электропередач находится «под боком».
Приметные маркеры электрических котлов
Давайте разберем, чем примечательны все электрические котлы с потребительской точки зрения.
Прежде всего, это высокий КПД (коэффициент полезного действия). В этом параметре значения лежат вокруг значения 98%. Это много и означает, что лишь 0,02 части топлива расходуется не на отопление.
Во вторых, электрокотлы компактны. Не имея в своей конструкции сложных деталей и дополнительных элементов, корпуса электрических котлов получаются заметно меньше, а некоторые типы электрокотлов (электродные) вообще сверхкомпактны.
В третьих, работа котлов на электричестве практически бесшумна. Это немаловажный параметр, в том числе для выбора места установки электрокотла.
В-четвертых, технология нагрева теплоносителя в электрическом котле достаточно проста, как следствие процессом нагрева более просто управлять. Отсюда, наличие недорогой автоматики управления практически во всех электрокотлах, а также возможность отдельной сборки систем управления работой котла.
В-пятых, при работе электрического котла не образуются вредные вещества горения, для вывода которых, вдобавок, нужно строить систему дымохода, пронизывающую конструкции дома.
Однако, положительные качества электрических котлов, пытается перевесить один крупнейший недостаток или лучше сказать их особенность.
Это необходимость дополнительных электрических мощностей для подключения электрического котла. Об этом я подробно писал в статье Электрическое отопление загородного дома, здесь кратко повторюсь.
Любой бытовой прибор мощностью более 7 кВт требует разрешение на подключение;
Обычно на дом выделяют стандартные 5 кВт, мощности, что явно не хватит для нормальной работы элеткрокотла, а значит нужно получать дополнительные мощности;
Котлы от 6 кВт, а это всего лишь котел для 60 метрового дома, скорее всего, потребуют питания 380 Вольт, что также поставит некоторые административные барьеры в виде согласования, разрешений и выделения.
Эту проблемную сторону нужно учесть, узнать возможность и этапы решения, и лишь потом покупать электрический котел для обогрева дома.
К сожалению, недостатки электрических котлов на этом не заканчиваются. К получению дополнительных мощностей, добавляем:
Высокую стоимость электроэнергии;
Необходимость новой электропроводки в доме, а возможно и нового электрического ввода в дом.
Три типа современных электрических котлов
На сегодня можно выделить три основных типа потребительских электрокотлов:
Тэновые;
Электродные;
Индукционные.
Деление по типам, происходит от примененного в котле способа нагрева теплоносителя системы отопления (воды).
Тэновые электрические котлы
В котлах данного типа для нагрева теплоносителя используются трубчатые нагревательные элементы (ТЭНы). По сути, это электрические проводники с очень высоким сопротивлением. Электрический ток, протекая по элементу, вызывает его нагрев, который передается теплоносителю.
Сам нагревательный элемент окружен диэлектрическим материалом и помещен в металлическую трубку различной формы. Контакты для подключения выведены на концы трубки. Сама трубка (корпус тэна) электрически безопасна.
На бытовом уровне тэны хорошо знакомы по старым электрическим чайникам и переносным водонагревателям.
Недостатком данного типа котлов, является тот же недостаток, что и в чайнике — образование извести на поверхности ТЭНа и стенках котла.
Происходит такое образование извести при использовании, так называемой жесткой воды. Поэтому в обслуживании котла, вносится элемент очисти известковых налётов, добавлением к теплоносителю различных добавок. Либо вода перед использованием искусственно доводится до показателя нормальной жесткости 7–10 мг-экв. на литр.
Основными способами смягчить воду является предварительное кипячение, дистилляция или использование специальных фильтров. Это тоже нужно предусмотреть перед покупкой электрического котла тэнового типа.
Еще одна проблема ТЭН котла может стать утечка теплоносителя. ТЭН, не погруженный в воду перегревается и как следствие сгорает, что в свою очередь приводит к пожару. Поэтому не нужно экономить на автоматике котла и обратить особое внимание на его автоматику.
Конструкция ТЭН котла отопления
Посмотрим на конструкцию ТЭН котла на примере котла Protherm «Скат», мощности 6, 9, 12,14,18, 21, 24,28 КВт. Это модель настенного электрического котла с эквитермическим регулированием.
Вода (теплоноситель) поступает из системы отопления (стрелка А), проходя через гидрогруппу (3), поступает бак котла. В нём она нагревается за счет трех установленных ТЭНов. Нагреваясь, вода поднимается вверх бака и поступает в обратную (подающую линию В) системы отопления.
Очень простая и понятная схема. Нет никаких сложных горелок, форсунок, теплообменников, всё просто как в самоваре. Эквитермическое регулирование температуры предполагает подключение к группе управления котлом наружного температурного датчика температуры.
Данный котел может работать с системой теплый полов при подключении аварийного термостата для регулировки температуры котловой воды. В гидрогруппу котла входит циркуляционный двухскоростной насос, обеспечивающий циркуляцию теплоносителя.
Котел имеет массу защит:
От замерзания теплоносителя;
От замерзания бойлера косвенного нагрева;
Защита насоса от заклинивания;
Предохранительный клапан на 3 бара.
Подключение электрокотла делается отдельной группой электропроводки с отдельным автоматом защиты от электрощита.
Сечение проводов и номинал автоматов защиты смотрим в таблице (фото).
Индукционные котлы
Наблюдаются интересные параллели между бытовой техникой на кухне и типами электрокотлов. Совсем недавно появились индукционные электрические плиты и почти одновременно появились индукционные котлы.
У обоих различных устройств одинаковый принцип работы,— для нагрева используется не электрический ток как таковой, а электромагнитная индукция, которая образуется в катушке при прохождении по ней тока.
Электромагнитная индукция, окружая другой проводник с ферромагнитными свойствами, вызывает его нагрев. В кухонной плите этим феромагнитным проводником является посуда, в котле отопления это трубопровод с циркулирующим теплоносителем.
Недостатки всё те же:
Жесткая вода откладывает осадки;
Требуется серьезная защита от утечки теплоносителя.
Конструкция индукционного котла отопления
Посмотрим конструкцию индукционного котла отопления на примере индукционного котла SAV.
Это односекционный индукционный котел, цилиндрического вида идущий в комплекте со шкафом управления. Рекомендовано дополнять систему: циркуляционным насосом, группой безопасности, расширительным баком, датчиком потока и сетчатым фильтром, а также терморегулятором и тепловым реле от перегрузок. Может комплектоваться программатором с управлением по GSM.
Для завершения первого знакомства смотрим схему его однофазного подключения, визуальную и принципиальную.
Индукционные котлы могут состоять из нескольких секций нагревателей. Пример, вихревой котел «Вихрь». Конструкция индукционного котла состоит из трех секций индукционного нагревателя, каждый из которых состоит из:
индукционной катушки;
теплообменного металлического корпуса;
с входным и выходным патрубками;
клеммная группа в защитной металлической коробке.
В комплект котла входит блок управления в виде электрического шкафа с автоматами защиты. Для защиты котла от сухого хода между циркуляционным насосом и входным патрубком котла, ставят реле потока.
Электродные отопительные котлы
Электродные отопительные котлы известны всем по нашумевшей рекламе котлов «Галан» с их миниатюрными размерами.
Это так, электродные отопительные котлы можно сравнить с проточными водонагревателями, только в них вода нагревается за счет, внимание, прохождения тока через теплоноситель. В данных устройствах сам теплоноситель греет сам себя. Достигается это за счет помещения в среду теплоносителя специальных электродов, возбуждающих колебание свободных электронов воды, как следствие вода нагревается.
Отличают электродные котлы:
Цилиндрические формы;
Малые размеры;
Экономичность при установке НЕ чугунных радиаторов;
Безопасность. Они не работают при отсутствии воды;
Автоматическое включение/выключение по датчикам температуры.
Минусы таких котлов:
Нельзя регулировать мощность, только вкл./выкл.
обзор, модельный ряд, инструкция, ошибки и неисправности
Газовый котел Protherm (Протерм) производится известной компанией Protherm, основанной в Словакии более четверти века назад.
Модельный ряд этого производителя отличается удачным сочетанием уровня мощности нагрева и показателей энергоэффективности.
Содержание
1 Модельный ряд котлов Protherm — одноконтурные и двухконтурные
1.1 Тип стены
1.2 Тип пола
2 Устройство газового котла Протерм
3 Как подключить и настроить
3.1 Видео: Подключение котла Протерм
3.2 Видео: установка оборудования Protherm
4 Краткое руководство по эксплуатации
5 Распространенные ошибки и неисправности
Модельный ряд котлов Protherm — одноконтурные и двухконтурные
Газовое оборудование Proterm выпускается европейским производителем в нескольких модификациях, что позволяет выбрать оптимальное с точки зрения функциональности, а также практичное и удобное модель в эксплуатации.
Настенный тип
Настенное газовое оборудование имеет неоспоримые преимущества, среди которых компактные размеры, внешняя эстетика, отличные эксплуатационные характеристики, возможность адаптации к функционированию с разными источниками энергии за счет замены стандартных насадок, а также экономичность.
- «Пантера». Недорогая модель с двумя теплообменниками для отопления помещений и нагрева воды. Современный обогреватель с возможностью работы в закрытой системе. Имеет надежную защиту от замерзания, автоматическое отключение подачи газа и контроль работы насоса.
Недорогая версия отопителя в линейке Protherm
- «Ягуар». Бюджетный вариант комплектации, не имеющий режима зима/лето. Двухконтурный агрегат с закрытым типом камеры сгорания и управлением рукоятками.
Простая модель с минимально необходимым набором функций
- «Гепард». Двухконтурный турбированный котел мощностью 11-23 кВт и закрытым типом камеры сгорания.
Даже маломощные модели могут за одну минуту нагреть 10–11 литров воды. Настенное устройство, в котором движение теплоносителя осуществляется принудительным образом.
Котел высокоэффективный с турбонаддувом
- «Тигр». Отличается аккуратным внешним видом, информативным ЖК-дисплеем и очень простым управлением. Есть возможность программирования на разные режимы работы или работа в автоматическом режиме «комфорт». Есть возможность автоматического управления процессом горения, имеет специальную систему зажигания.
Компактное оборудование с различными режимами работы
Основные характеристики котла
Напольный тип
Напольные одноконтурные и двухконтурные котлы имеют ряд преимуществ, которые делают этот тип оборудования популярным среди потребителей. Нельзя оставить без внимания высокие эксплуатационные показатели, максимальную эффективность теплоотдачи, экономичный расход топлива, широкий функционал и гарантированную долговечность.
- «Медведь». Качественный чугунный теплообменник делает агрегат долговечным и очень надежным. Модель имеет режим «Зима-Лето» и удобный контроль тяги. Он имеет автоматическое управление процессом горения и имеет специальную систему зажигания.
Теплообменник чугунный предполагает длительную эксплуатацию котла
- «Буйвол». Удобный и долговечный котел с высоким КПД, способный работать на разных видах топлива. Очень мощный агрегат с высокой степенью надежности.
Мощное оборудование, способное работать на разных видах топлива
Основные характеристики модели зубр
Котел напольный с надежным теплообменником
Основные характеристики модели
Стационарный отопительный газовый котел
Основные характеристики модели КЛОМ17 Медведь
Устройство газового котла Протерм
Различные модификации газового оборудования имеют индивидуальные особенности устройства.
Изготовление котлов с использованием низкотемпературного чугуна помогает эффективно минимизировать потери тепла.
Особенностью устройства отопительных приборов марки «Протерм» является также необычный, достаточно экологичный способ сжигания топлива.
Основными компонентами газового отопительного оборудования являются:
- система зажигания; горелка
- ; теплообменник
- .
Источник тепла представлен пламенем горелки, в которой сжигается газ, а за нагрев теплоносителя отвечает теплообменник. Процесс подачи газа контролируется термостатом, при этом продукты сгорания, представленные в основном водяным паром и углекислым газом, отводятся через систему дымохода.
Котлы Протерм применяются для отопления и горячего водоснабжения
Как подключить и настроить
Основные условия монтажа отопительного газового оборудования от производителя «Протерм»:
- Монтаж котла и необходимого вспомогательного оборудования осуществляется в соответствии с проектной документацией с учетом требования СНиП и рекомендации производителя;
- установка оборудования производится в специально предназначенном для этих целей помещении, а при специальной модификации агрегата — исключительно в хорошо проветриваемых хозяйственных постройках;
- процесс монтажа и пуско-наладки осуществляют специалисты, прошедшие курс обучения по монтажу и обслуживанию газового оборудования;
- устранение любых неисправностей котла осуществляется сервисной организацией, уполномоченной изготовителем отопительного и водогрейного оборудования;
- самостоятельные монтажные работы влекут за собой лишение потребителя гарантии на агрегат и его ремонт;
- при распаковке отопительного оборудования необходимо проверить комплектность поставленного котла и пригодность вида используемого топлива.

Перед тем, как приступить к установке, необходимо внимательно прочитать прилагаемую к газовому котлу инструкцию, а при установке соблюдать все рекомендации, данные в сопроводительных документах. Маркировка на оборудовании не должна быть повреждена или удалена.
Стандартная технология подключения и настройки газового котла:
- крепление агрегата к стене с помощью шурупов с соответствующими прокладками; соединительные трубы
- не должны быть нагружены трубной системой отопления, системой горячего водоснабжения или элементами газоснабжения;
- необходимо строго соблюдать установочный размер соединения труб, включая их высоту и необходимое расстояние от входа до выхода;
- гидравлическая группа располагается на нижней части газового оборудования, а система обязательно комплектуется заправочным клапаном и предохранительными и предохранительными клапанами;
- при превышении максимального давления внутри системы, выбросе пара или воды из предохранительных и предохранительных клапанов;
- подключение агрегата к системе отопления говорит о возможности проведения всего объема профилактических и ремонтных работ; вода
- подается в систему отопления через наливной кран, а для понижения давления или частичного слива теплоносителя используется сливное устройство; специальные выпуски
- , установленные на отдельных участках системы отопления, имеют функции полного слива и налива;
- давление ГВС на оборудование должно превышать аналогичные показатели в системе отопления;
- в положении крана «Наполнение» (гидравлическая группа) работа системы обязательно контролируется посредством котлового манометра;
- арматура открывается против часовой стрелки, а закрытие строго по часовой стрелке.

Гарантийные обязательства по котельному оборудованию не включают работы, представленные осушением и регулировкой расширительного бака.
Видео: Подключение котла Протерм
Видео: Настройка оборудования Protherm
Краткая инструкция по эксплуатации
Правильная настройка газовых котлов Protherm обеспечивает оптимальный температурный режим в различных помещениях и помещениях. Кроме всего прочего, регулирование автоматики такого оборудования способствует повышению эффективности агрегата, а также делает его работу надежной и безопасной. Современная автоматика решает задачи:
- открытие и закрытие арматуры в системе газоснабжения;
- процесс запуска установки в автоматическом режиме;
- установленное или аварийное отключение котельного оборудования;
- регулировка уровня пламени в горелке с помощью датчика температуры;
- выводят на экран индикаторы температуры воздуха, уровня теплоносителя и других параметров.

Инструкция по настройке газового котла:
- подключение терморегулятора к закрепленному в помещении датчику температуры, и установка необходимых значений позволяют получить комфортный температурный режим отопления;
- установка термостатического клапана на подающие трубы перед радиаторами отопления способствует изменению площади сечения трубы и легкому осуществлению процесса регулирования температуры теплоносителя;
- первый пуск системы при максимальной температуре позволяет отработанной охлаждающей жидкости беспрепятственно поступать в бак, что способствует его максимальному наполнению;
- Повышению эффективности способствует своевременное удаление накипи и нагара, а также контроль отсутствия воздуха в системе и установка ограничителя тяги;
- регулировка показателей давления осуществляется с помощью специальных клапанных регуляторов, а для повышения давления устанавливается циркуляционный насос;
- Мощность горелки котла снижается автоматически через сервисное меню, а увеличение мощности регулируется установкой дополнительных радиаторов или заменой существующих на самые мощные модели;
- многие агрегаты характеризуются полноценной работоспособностью при давлении 1,5 атм.
, а в норме это значение составляет 0,3 атм. ниже показателей в системе отопления; - восстанавливается незначительное снижение уровня давления в агрегате при стандартном перезапуске;
- автоматический выбор режима функционирования газового котла помогает поддерживать нужный уровень температуры даже при длительном отсутствии потребителей в помещении.
Процесс первого включения котла сопровождается его непродолжительной и энергичной работой после полного подключения агрегата к системе отопления, что позволяет легко проверить правильность монтажа котельного оборудования и полноценное функционирование отопления.
Распространенные ошибки и неисправности
Некоторые наиболее распространенные неисправности газовых котлов компании Протерм можно полностью устранить своими силами, но исправление наиболее сложных ошибок необходимо доверить профессионалам сервисного центра.
Современное отопительное оборудование от производителя из Словакии, в категорию которого входят одноконтурные и двухконтурные газовые котлы Protherm, отличается высокой надежностью и модельным разнообразием.
Эти солидные и недорогие котлы европейского качества из «среднего класса» пользуются вполне заслуженной популярностью и всегда пользуются спросом у отечественных потребителей.
особенности, плюсы и минусы, установка, модельный ряд
Содержание статьи:
- Описание котла Protherm Skat
- Характеристики и характеристики
- Преимущества и недостатки
- Монтаж и запуск котла
- Неисправности котлов и методы их устранения
- Модельный ряд
В местах, где нет сетей водоснабжения и газоснабжения, для обогрева жилища применяют электроотопительное оборудование. Среди предложений рынка – котел Протерм Скат. Агрегат вешается на стену, малогабаритен, не требует устройства дымохода, питается от сети 220 или 380 В. Он представлен рядом моделей, отличающихся производительностью.
Описание котла Protherm Скат
Электрический котел Протерм модификация Скат предназначен для обогрева помещений площадью до 280 кв.
м
Словацкая компания Protherm производит отопительное оборудование. Модификация Скат относится к электрическим агрегатам. Это одноконтурные системы, способные отапливать дом площадью до 280 м2. Они подключаются к однофазному и трехфазному току.
Модели Protherm отличаются производительностью. Маломощные — котел Скат 6К и 9К, более мощные Скат 12К, 14К и 18К, 21К, 24К и 28К.
Одноконтурные системы используются для нагрева воды в отопительном контуре. Для горячего водоснабжения требуется установка бойлера. При его использовании котел переключается с режима отопления на режим нагрева воды.
На дисплее отображается температура горячей воды и теплоносителя, горящая лампочка указывает на режим работы, красный индикатор предупреждает о неисправности оборудования.
Особенности и характеристики
Изначально электрокотел Скат Protherm трехфазный, однако возможны устройства мощностью 6 и 9кВт можно питать от однофазной сети 220 В. Конструктивно электрокотел Протерм 9 кВт и другие модификации марки состоят из следующих элементов:
- Теплообменник цилиндрический.

- Блок ТЭНов с многоступенчатым переключением.
- Компрессионный расширительный бак, объем 7 литров.
- Циркуляционный насос.
- Предохранительный клапан.
- Автоматический воздухоотводчик.
Датчик температуры и устройство защиты оборудования от перегрева устанавливаются на линии отопительного контура; имеется система защиты от замерзания и отключение циркуляционного насоса.
Технические характеристики моделей Protherm Scat:
Имя | Модель котла | |||||
| 6К | 9К | 12К | 14К | 18К | 21К | |
| Электрическая сеть | 380 В / 50 Гц | |||||
| Сечение провода, мм2 | 1,5 | 1,5 | 2,5 | 2,5 | 4 | 6 |
| мощность, кВт | 6 | 9 | 12 | 14 | 18 | 21 |
| Потребляемый ток, А | 3×9,5 | 3×14 | 3×18,5 | 3×23 | 3×27 | 3×32 |
| Диапазон регулировки нагрева | 25-85 0С | |||||
| Диапазон регулировки горячей воды, | 35-70 0С | |||||
| Аварийное отключение при | 95 0С | |||||
В таблице приведены основные характеристики электрокотлов, более подробные данные можно найти в инструкции к оборудованию.
Достоинства и недостатки
Для одноконтурного котла подключение котла к ГВС
Котел электрический Скат 12 кВт Protherm и другие модификации этой марки имеют достоинства и недостатки. К достоинствам можно отнести:
- большой выбор моделей по мощности;
- надежная система безопасности;
- Эффективность 99,5%;
- качественная сборка элементов;
- современный дизайн;
- возможность подключения дополнительного оборудования;
- надежность в эксплуатации.
Из недостатков отметим следующие:
- нет моделей с бойлером для нагрева воды для бытовых нужд;
- отсутствие термостата в комплекте;
- недопустимо использование в качестве теплоносителя незамерзающих жидкостей.
Недостатки не существенны, их нельзя учесть в соответствии с положительными качествами.
Монтаж и пуск котла
Котлы 6 и 9 кВт могут быть подключены к однофазной сети
Оборудование висит на стене с помощью шурупов.
Подсоедините трубы к трубе отопления. При дополнительной установке котла в место его крепления устанавливается трехходовой кран. Они подключены к электрической сети 380 В. На вводе установлен автоматический выключатель, прерывающий подачу тока. Для питания проложен отдельный силовой кабель. Все точки подключения заземлены.
Электрокотел Protherm Скат 9 кВт и 6 кВт можно подключить к однофазной сети с помощью соединительной перемычки, входящей в комплект оборудования. С его помощью соединяются фазы проводов на клеммнике. Для запуска агрегата откройте кран подачи воды, доведите давление в системе до 2 атм, на дисплее появится температура и загорится лампочка.
Подробнее о работе котла, о настройке различных режимов работы смотрите в инструкции «Руководство по установке и эксплуатации котла Скат Protherm».
Неисправности котлов и методы их устранения
Система самодиагностики выявляет ошибки и отображает их на мониторе
Котлы Протерм оснащены автоматикой, реагирующей на неисправности.
Данные об этом отображаются, каждая ошибка имеет свой код. Расшифровка:
- F00, F10, F13, F19 — неисправность датчика температуры;
- F20 — не работает аварийный датчик температуры или термопредохранитель;
- F22 — воздух в системе или низкое давление воды;
- F41 и F55 — заедание реле или контактора;
- F63 — нет связи с EEPROM;
- F73 и F74 — неисправность датчика воды;
- F73 и F74 — замерзание воды в котле или бойлере.
При выходе из строя датчиков и указателей необходимо заменить или проверить их подключение к кабельной линии.
При появлении на дисплее ошибки по сухому пуску котла отрегулировать подачу воды, открыв вентиль, повысить давление в системе. При образовании воздуха в трубах сливать из них воду до выхода воздуха.
Если залипают контакты датчика, это можно устранить, попеременно включая/выключая кнопку. Если ошибка не удаляется, возможно, данные о ней сохранились в памяти системы.
Вам нужно сделать сброс до заводских настроек.
В случае серьезных проблем с котлом обратитесь в сервисную службу для их устранения.
Модельный ряд
Котлы мощностью 12 кВт подключаются к трехфазной сети и отапливают помещения площадью до 150 кв. м
Данная линейка оборудования представлена блоками от 6 до 25 кВ. Котлы в заводской комплектации оснащены всем необходимым для легкой установки и подключения. Система оснащена автоматикой, обеспечивающей работу и отключение в аварийных ситуациях.
Котел электрический Протерм Скат 6К
Это одноконтурный котел мощностью 6 кВт. Применяется для обогрева помещений площадью до 80 м2. Потребляемый ток 10 А, КПД 99,5%, температура нагрева регулируется от 25 до 85 0С. Аварийное отключение производится при 95 0С. Для обеспечения горячей водой требуется дополнительное подключение бойлера.
Уклон 9К
Электрокотел Протерм Скат 9 одноконтурного отопления, мощность 9 кВт, ток потребления 14 А.
Температура теплоносителя изменяется от 25 до 85 0С, аварийное отключение при 95 0С. Температура нагрева регулируется количеством включенных нагревательных элементов. Возможно получение горячей воды путем включения в котельную систему.
Protherm 12K
Даже для самых мощных электрокотлов не нужно выделять отдельного помещения
Электрокотел мощностью 12 кВт, использует для работы ток 18,5 А. Отличается от предыдущих по количеству нагревательных элементов может обогреть помещение до 120 м2. Питание от сети с характеристикой 380 В/50 Гц. Обладает всеми качествами линейки оборудования Proterm.
Уклон 14К и 18К
Отопительные агрегаты одноконтурные, питание от сети 380 В/50 Гц, мощность 14 и 16 кВт соответственно, ток потребления 23-27 А. Могут отапливать помещение площадью 250 м2. Наличие автоматического управления упрощает его эксплуатацию. Аварийное отключение происходит при нагреве воды до 95 0С, температура теплоносителя регулируется 25 — 85 0С.
Электрокотлы Protherm Skat являются альтернативой газовому отоплению. Для его использования не требуется дополнительное помещение, высокий КПД позволяет экономить электроэнергию. Оборудование помогает решить проблему отопления в новых коттеджных поселках, особенно это актуально для небольших загородных домов, удаленных от газовых сетей.
Proterm Skat 12 KW ………………………………………………. 4 Управление и сигнализация……………………. 6 Выбор режима чтения……………………. 7 Выбор режима настройки ………………………. 8 Сообщения о неисправностях котла …… .. 10 Схема управления работой котла …………. 11 Характеристики котла …………………………. 12 Пуск и остановка котла …………………. 13 Регулирование работы котла……………….. 13 Защитные функции котла…………………….
. 15 Техническое обслуживание и уход………… 17 Транспортировка и хранение……………….. 18 Гарантия и гарантия условиях……………18 Технические параметры………………………..19Присоединительные размеры ………………. 20 Схема принципиальная ………………………… 21СКАТ 6, 9, 12, 14, 18, 21, 24, 28 К
Серийный номер, обозначение типа, технические данные котла указаны на заводская табличка
, расположенная на нижней панели корпуса котла. Чтобы прочитать информацию о
на шильдике, необходимо снять переднюю панель корпуса котла.
Раздел «Инструкция по эксплуатации» содержит описание основных функций котла.
и рекомендации по безопасному использованию. Раздел «Инструкция по установке»
предназначен только для специалистов сервисных и монтажных организаций.
ИНСТРУКЦИЯ ПО УСТАНОВКЕ Введение ……………………….. ………………………………….. 25 Подключение котла к электросети ………. 26 Схема подключения бойлера косвенного нагрева…………………. 28 Схема подключения котла …………………. 30 Неисправности котла …………………………… 37
0020095669_04
Популярные модели
Электрокотел Protherm Скат 9 КР 13 самый покупаемый.
Используется для обогрева помещений до 90 кв.м.
Как мы уже говорили, электрические котлы от Protherm представлены единственной линейкой Скат. Поэтому все оборудование имеет схожие характеристики, отличаясь электрической мощностью и потребляемым током — все остальные данные идентичны, вплоть до габаритов и веса. Самые популярные модели: 9 кВт, 12 кВт и 21 кВт. .
Кроме того, в модельный ряд Скат входят модели мощностью 6 кВт, 14 кВт, 18 кВт, 24 кВт и 28 кВт — максимальная площадь обогрева зависит от мощности (в расчетах необходимо учитывать тепло потеря и возможность подключения бойлера).
Введение
Страница 4
- Фото
- Текст
4
Вы стали владельцем котла центрального отопления с возможностью регулирования электрического отопления. Надеемся, что электрокотел Скат прослужит вам долго и надежно. При его установке и обслуживании необходимо соблюдать определенные правила. Поэтому просим Вас внимательно ознакомиться с содержанием данной инструкции по эксплуатации и при работе с котлом действовать в соответствии с данными в ней рекомендациями и указаниями.
Мы верим, что электрический котел СКАТ поможет вам создать в доме приятную атмосферу и оптимальный тепловой комфорт. Пожалуйста, обратите внимание на следующие основные моменты:
1.
Котел вместе с сопутствующим оборудованием должен устанавливаться и эксплуатироваться в соответствии с проектной документацией, соответствующими действующими законами и техническими регламентами, а также инструкциями производителя.
2. Котел разрешается устанавливать только в
специально оборудованных помещениях.
3. Ввод котла в эксплуатацию после установки
может производиться только
специалистом специализированной организации, аттестованной Protherm.
4.
Котел соответствует требованиям стандартов и нормативных документов, действующих на территории Российской Федерации, что подтверждается Сертификатом соответствия, выданным уполномоченным органом, Разрешением на применение Федеральной службы по Экологический, технологический и атомный надзор.
5.
В случае возникновения неисправностей обращаться только в специализированную сервисную организацию — непрофессиональную
Введение
фальсификация может повлиять на гарантию оборудования.
6.
Работник сервисной организации, вводящей котел в эксплуатацию, обязан ознакомить пользователя с техникой безопасности при обслуживании оборудования и контроле за работой котла; операции, которые пользователь вправе выполнять самостоятельно и операции, которые вправе выполнять только квалифицированный специалист обслуживающей организации. Если указанная сервисная организация является также поставщиком котла, она обязана обеспечить сохранение заводской упаковки котла на случай возможной транспортировки.
7. Проверить целостность и комплектность.
доставка.
8. Убедитесь, что тип поставляемого Вам котла
по входным параметрам (указанным на заводской табличке) подходит для эксплуатации в данном регионе. Входные параметры означают: напряжение электрической сети.
9. В случае отсутствия у Вас определенного
для уверенности в правильности своих действий по обслуживанию котла найдите и внимательно изучите соответствующие инструкции и рекомендации, содержащиеся в данном руководстве по обслуживанию, и действуйте исключительно в соответствии с их.
10.
Не удаляйте и не повреждайте маркировку или надписи на котле.
Сохранять оригинальную упаковку котла на случай возможной транспортировки до ввода котла в эксплуатацию.
11.
Для ремонта используйте только оригинальные запасные части. Запрещается вмешиваться во внутреннее устройство котла и вносить какие-либо изменения в его конструкцию.
12.
В случае длительного отключения котла рекомендуется опорожнить его и отключить от сети. Эта рекомендация сделана с учетом общего
Безопасность при эксплуатации
Отопление помещения электрическим теплогенератором должно быть полностью безопасным.
Безопасность эксплуатации обеспечивают следующие системы:
- Система аварийного отключения. Инициируется специальным датчиком перегрева. Аварийное отключение происходит при достижении температуры теплоносителя более 1000 градусов.
- Автоматическая задержка включения и выключения ТЭНов по заданной мощности.
- Аварийный датчик давления. Механизм срабатывает в результате снижения давления охлаждающей жидкости ниже 0,8 бар.
- Пять степеней защиты устройства в зависимости от напряжения.
Электрические котлы Протерм, применяемые для оборудования автономной системы отопления, представляют собой высокотехнологичные современные устройства. Они подходят для использования в климатических условиях, типичных для нашей страны.
Что такое деаэратор в котельной — вопрос достойный внимания для людей, не знакомых с этим устройством.
О типах деаэраторов читайте здесь.
В обязательном порядке котлы оснащены электронным управлением и системой безопасности, что делает их работу максимально безопасной.
Аппараты имеют очень высокий КПД (99,5%), что значительно снижает затраты на отопление дома или другого помещения.
Установка оборудования не представляет сложности, не требует в последующем наличия специальных навыков для обслуживания.
Инструкция ↑
- Котел устанавливается специалистом в соответствии с проектной документацией.
- Перед запуском специалист проводит инструктаж потребителей по принципам работы оборудования.
- Перед включением котла необходимо подключить его к сети, открыть краны на отопительном контуре и проверить уровень давления в системе (оно должно быть в пределах 1-2 бар).
- На дисплее отображаются параметры настройки.
- Потребитель задает требуемую температуру системы отопления, контура водоснабжения (при подключении котла) и требуемую мощность.
- Если давление в системе падает, на дисплее мигает индикатор «бар». Это указывает на необходимость добавления воды в систему. Если давление все же падает, необходимо обратиться к специалисту.

- Если котел остановлен на длительное время, необходимо будет отключить его от электропитания и перекрыть краны. Если это происходит зимой, необходимо слить воду из системы во избежание замерзания.
Внимание: Не используйте абразивные или другие химические средства для чистки котла. Поверхность корпуса можно протирать влажной тканью, а затем вытирать насухо.
8. Любые неисправности в работе оборудования диагностируются электроникой и на дисплей выводится информация с кодом ошибки. Кодовые номера расшифровываются в инструкции. 9. Если котел неисправен, например, из теплообменника начинает капать вода или он замерз, подключать его к сети запрещается. Вам необходимо вызвать специалиста для диагностики и ремонта. 10. Детали котла можно заменять только оригинальными запчастями.
Модельный ряд котлов Protherm — одноконтурные и двухконтурные
Газовое оборудование Proterm выпускается европейским производителем в нескольких модификациях, что позволяет подобрать модель, оптимальную с точки зрения функциональности, а также практичности и максимально удобная модель в эксплуатации.
Настенное
Настенное газовое оборудование имеет неоспоримые преимущества, среди которых компактность, внешняя эстетика, отличные эксплуатационные свойства, возможность адаптации к работе с разными энергоносителями путем замены штатной форсунки, а также экономичность.
- «Пантера». Недорогая модель с двумя теплообменниками для отопления помещений и нагрева воды. Современный обогреватель с возможностью работы в закрытой системе. Имеет надежную защиту от замерзания, автоматическую отсечку газа и управление насосом.
Недорогой вариант отопителя в линейке Protherm
- «Ягуар». Бюджетный вариант оборудования, не имеющий режима зима/лето. Двухконтурный агрегат с закрытым типом камеры сгорания и управлением при помощи рукояток.
Простая модель с минимально необходимым набором функций
- «Гепард». Двухконтурный турбированный котел мощностью 11-23 кВт и закрытым типом камеры сгорания. Даже маломощные модели способны за одну минуту нагреть 10-11 литров воды.
Настенный прибор, в котором движение теплоносителя осуществляется принудительно.
Турбированный котел с высоким КПД
- «Тигр». Он отличается аккуратным внешним видом, информативным ЖК-дисплеем и очень простым управлением. Есть возможность программирования на разные режимы работы или работа в автоматическом режиме «комфорт». Есть возможность автоматического регулирования процесса горения, его отличает особая система зажигания.
Компактное оборудование с различными режимами работы
Основные характеристики котла
Напольный тип
Напольные одноконтурные и двухконтурные котлы имеют ряд преимуществ, которые делают этот тип оборудования востребованным у потребителей. Нельзя обойти вниманием высокие эксплуатационные показатели, максимальную эффективность теплоотдачи, экономичный расход топлива, широкий функционал и гарантированную долговечность.
- «Медведь». Качественный чугунный теплообменник делает агрегат долговечным и очень надежным.
Модель имеет режим «Зима-Лето» и удобный контроль тяги. Он имеет автоматическое регулирование процесса горения и отличается особой системой зажигания.
Теплообменник чугунный предполагает длительную эксплуатацию котла
- «Буйвол». Удобный и долговечный котел с высоким КПД, способный работать на различных видах топлива. Очень мощный агрегат с высокой степенью надежности.
Мощное оборудование, способное работать на разных видах топлива
Основные характеристики модели Бизон
Котел напольный с надежным теплообменником
Основные характеристики модели
Стационарный отопительный газовый котел
Основные характеристики модели Медведь КЛОМ17
Устройство газового котла Протерм
Различные модификации газового оборудования имеют индивидуальные характеристики устройства.
Изготовление котлов с использованием низкотемпературного чугуна способствует эффективной минимизации тепловых потерь. Особенностью устройства отопительных приборов марки «Протерм» является также необычный, достаточно экологичный способ сжигания топлива.
Основные узлы газового отопительного оборудования представлены:
- система розжига;
- горелка;
- теплообменник.
Источник тепла представлен пламенем горелки, в которой сжигается газ, а за нагрев теплоносителя отвечает теплообменник. Процесс подачи газа контролируется термостатом, при этом продукты горения, представленные в основном парами воды и углекислым газом, удаляются через систему дымоходов.
Котлы Протерм применяются для отопления и горячего водоснабжения
Газовый настенный котел Протерм Леопард. Системы отопления для дачи и загородных домов
Настенный газовый protherm Котел Leopard , производства чешской компании Protherm, выполнен в белом цвете и содержит всю необходимую в эксплуатации автоматику и встроенную электронику. В том числе цифровой дисплей, с помощью которого можно контролировать температуру горячей воды, отопления, а также диагностические данные. Незатейливый дизайн котла делает его практически незаметным в интерьере дома или квартиры.
Однако комплектация и качество этого котла долгие годы не вызывали нареканий.
По конструкции котел Леопард представляет собой двухстенный котел с медным бетермическим теплообменником. Двухконтурность позволяет этому котлу не только отапливать само помещение, но и нагревать воду для хозяйственных нужд. Это позволит вам сэкономить на покупке и установке индивидуальных котлов, ведь этот газовый котел уже имеет встроенный теплообменник.
Газовые котлы Protherm Leopard выпускаются как с закрытой, так и с открытой камерой сгорания, причем различия между ними довольно серьезные. Например: если в доме есть проветриваемое и проветриваемое помещение под котельную или котельную и необходимые коммуникации, то вполне можно взять котел с открытой камерой сгорания. В тех случаях, когда таких помещений в здании нет, целесообразнее приобрести газовый котел с закрытой камерой сгорания. Учитывая его высокую надежность, его можно использовать даже для подогрева воды в ванной.
Мощность котла Protherm Leopard варьируется от 9 до 23 КВт.
По исполнению данные котлы бывают с обычным или турбированным дымоходом. Котлы Леопард сертифицированы для эксплуатации в России и имеют необходимые сертификаты качества. Поскольку эти котлы компактны, доступны и безопасны, они широко используются как в частных хозяйствах как эффективное решение для отопления коттеджей, домов и квартир, так и на производстве для обогрева небольших складов и других нежилых помещений.
1. G3/4 подводящая магистраль системы отопления
2. Труба отвода горячей воды G3/4″
3. G1/2″ подключение газа
4. G3/4″ подвод холодной воды
5. Обратка отопления система G3/4
6. Стена
7. Крепежная пластина
8. Облицовка
Технические характеристики котла
- Встроенный микропроцессор — обеспечивает электронное управление работой котла
- Плавная регулировка мощности — точное соответствие расхода топлива и электроэнергии заданному температурному режиму
- Эквитермическая система управления для поддержания комфортного микроклимата в помещении
- Автодиагностика — непрерывный анализ работы всех элементов котельной установки и индикация на электронном дисплее кода, соответствующего неисправности, возникшей при эксплуатации
- Защита от замерзания
- защита от перегрева
- Защита насоса от заклинивания
- Функция Зима-Лето
- Выбег насоса — после отключения горелки насос еще некоторое время продолжает работать, исключая возможность закипания теплоносителя в теплообменнике.

- Противоциклирование — функция ограничения частых включений котла
- Отображение на дисплее основных параметров теплоносителя, ГВ и данных автодиагностики
- Надежная рабочая и предохранительная арматура для систем газа, воды и газоудаления
- Система контроля тяги дымохода
- Независимое регулирование тепловых нагрузок контуров отопления и ТН
| Технические характеристики | единиц измерения | ЛЕОПАРД 24БТВ | ЛЕОПАРД 24BOVE |
|---|---|---|---|
| Макс. тепловая мощность | [кВт] | 25 | 25 |
| Мин. тепловая мощность | [кВт] | 10,5 | 10 |
| Макс. полезная тепловая мощность | [кВт] | 23 | 23 |
| Минимальная полезная тепловая мощность | [кВт] | 8,5 | 8,5 |
| Эффективность | [%] | 91 | 90 |
| Максимальный расход природного газа/пропана | [м 3 /час] / [кг/час] | 2,64/2,1 | 2,64/2,1 |
| Расширительный бак | [л] | 5 | 5 |
| Камера сгорания | закрыт | открыт | |
| Диапазон регулирования температуры в контуре ГВС (зависит от расхода воды) | [°С] | 35 — 60 | 35 — 60 |
| Количество горячей воды при Δt 30°C | [л/мин] | 11 | 11 |
Мин. расход горячей воды | [л/мин.] | 2,7 | 2,7 |
| Макс. давление в контуре ГВС | [бар] | 6 | 6 |
| Минимальное давление в контуре ГВС | [бар] | 1 | 1 |
| Диаметр коаксиального дымохода (диаметр разъемного дымохода) | [мм] | 60/100 (80/80) | — |
| Диаметр дымохода | [мм] | — | 125 |
| Макс. длина раздельного дымохода 80/80 | [Есть] | 10+10 | — |
| Макс. длина 60/100 коаксиальный дымоход | [Есть] | 4 | — |
| Давление газа на входе | [мбар] | 13 — 20 | 13 — 20 |
| Источник питания / Потребляемая мощность | [Вт / Вт] | 230/135 | 230/95 |
| Габаритные размеры — высота/ширина/глубина | [мм] | 740/410/ 320 | 740/410/320 |
| Вес | [кг] | 37 | 33 |
Ответы специалистов по ремонту котлов Протерм Леопард
Вопрос:
У нас котел леопард протерм и по этой причине датчик не переключается на горячую воду.
При повышении температуры в котле появляется стук при открытии крана горячей воды и все успокаивается. В чем причина не поймем, говорит мастер надо почистить теплообменник. Прошу совета.
Если у вас стоит фильтр на отоплении, проверьте его сначала, трехходовой кран тут, скорее всего не при чем, так как я так понимаю у вас горячая вода. Второе – проверьте, работает ли ваш циркуляционный насос.
Если насос работает и фильтр чистый (если он есть в системе), то скорее всего мастер сделал правильный вывод, но имейте это в виду только в том случае, если при повышении температуры появляется стук в системе отопления котел и температура быстро поднимается. Кстати, еще может быть проблема в трехходовом клапане — иногда стираются прокладки, и он не переключается до конца.
Настенный котел Леопард 24 не запускается. Пьезо щелкает, а запуска нет. Пишет ошибка F7. Что это значит?
Ошибка называется «отключение», то есть где-то нет сигнала с какого-то датчика или малое напряжение на плате.
Попробуйте сами выдернуть вилку из розетки, и перевернуть, ведь можно перепутать фазу-ноль. Давление теплоносителя в системе также может снизиться, и это следует проверить.
Сломался котел Protherm Leopard: была высокая температура, загорелась аварийная лампа. Больше не горит. Как быть?
Похоже, что из-за перегрева сработал плавкий предохранитель котла STB и котел заблокировался. Если ваш котел оснащен атмосферной горелкой, вы можете разблокировать и запустить ее самостоятельно. С левой стороны котла найдите черную заглушку и открутите ее; под ним будет кнопка, которую следует нажать. После этого котел должен запуститься.
Подскажите пожалуйста какую максимальную температуру в трубах можно установить на котле Протерм Леопард 24 бтв/бв площадь дома 100 кв.м
Максимальная температура 75 градусов С.
Протерм леопард 24 БОВ до 50 гр. нагрев все работает нормально, если добавить выключается через минуту и выдает ошибку F6, что это?
Неисправность моностата подачи воздуха или вентилятора.
Protherm Leopard 24 при первом подключении выдает ошибку F6. Подскажите, в чем может быть проблема, может проблема в установке?
Ошибка F6 — неисправность моностата вентилятора.
Котел Леопард 24 БОВ 17серия. Я получаю ошибку F8, что означает эту неисправность, и как я могу это исправить?
Возможно, неисправен газовый клапан.
Установка Протерм Леопард остановлена. Мигает ошибка F8. Что сделать, чтобы снова заработало?
Ошибка F8 — неисправность газового клапана. Возможно, он вышел из строя, и требуется замена на новый.
Едет напор горячей воды. Те. умыться и принять контрастный душ — то же самое. Никаких специалистов мы не нашли. Как с этим бороться?
Скорее всего у вас скважина. То же самое было и на этом, и на другом котле. Все было легко. Для начала нужно проверить давление в гидроаккумуляторе (синий или красный бак), оно должно быть около 1,5 бар, если меньше, то подкачиваем. Если при нажатии на клапан бежит вода, то надо менять внутреннюю мембрану.
После того, как все это будет проверено, проверьте, падает ли и давление. Если да, то на реле
давление необходимо для установки порога отключения насоса при более высоком давлении.
Подскажите, у леопардового протерма течет вода из разбрасывателя, который за насосом что делать.
Если клапан течет, то скорее всего заклинило, смотрите, на воздуховоде должна быть заглушка, закручивайте до упора.
Подскажите, пожалуйста, что может быть: При включенном отоплении, после использования горячей воды сильно шумит насос, температура поднимается до 80 градусов. потом спокойно уменьшил. По времени минут 5. Зависит от времени пользования горячей водой. Раньше было. Почистил сетку фильтра в системе отопления, и все стало нормально. Теперь сеть чистая.
Шум в насосе может быть связан с явлением кавитации, которое может быть вызвано растворенным в теплоносителе воздухом. При заборе воды насос останавливается и одновременно в ней начинает выпускаться воздух, поэтому чем дольше забор, тем больше воздуха выделяется.
После прекращения отбора ГВС включается насос, возникает кавитация, что приводит к снижению производительности насоса и, как следствие, к повышению температуры. Когда кавитация прекращается, насос переходит в нормальный режим работы.
Котел Леопард 24кВт. В работе 4 года. Проблем не было. Этот отопительный сезон не дает больше 60 градусов на обогрев, хотя судя по высоте пламени при розжиге запас процентов 30-40 есть. Также был стук в котле. Насос переключался в 3 режима. Ничего не меняется. Что может быть причиной? Недостаточный поток? Неисправность датчика температуры? Давление газа?
Засорен теплообменник ОМ, при засорении одной из трубок в битермических теплообменниках происходит закипание в контуре ВВС, поэтому датчик ВВС модулирует пламя, т.к. он приоритетнее датчика отопительной воды. Проверить легко, сдергиваете датчик ГВС, если котел выходит на полную мощность, то забит контур ГВС.
У меня котел Леопард, проблема в том, что котел не выдает заданную температуру 70 градусов.
Выдает только 50 градусов. Помогите решить проблему.
Пришлось повозиться в настройках, минимальная мощность нагрева раньше была выставлена цифрами 9, догнал до 20, все греет отлично. Нужно переключиться на цифры нагрева на дисплее и потом зажать и долго держать кнопку РЕЖИМ пока что-то не отобразится, потом снова нажимать пока не появится цифра, в нашем случае как я уже писал это было 9, наименьшая мощность нажимая на плюс мы догнали до 20 а потом опять на МОД и все.
__________________________________________________________________________
__________________________________________________________________________
_____________________________________________________________________________
____________________________________________________________________________
ЭКСПЛУАТАЦИЯ И РЕМОНТ КОТЛОВ
Proterm Panther Proterm Skat Proterm Bear Proterm Cheetah Evan
Ariston Egis Teplodar Cooper Atem Zhytomyr Neva Lux Arderia Nova
Termona Immergaz Electrolux Conord Lemax Galan Mora Aton
_______________________________________________________________________________
Description
Protherm was founded in 1994 in Prague.
В начале своего развития компания производила только электрические котлы, вскоре ассортимент продукции расширился, сейчас он расширен более чем на 95 штук. Прежде всего, компания является известным европейским производителем в сфере отопления. Большой опыт и успешное внедрение отопительной техники зарекомендовали компанию как надежного производителя качественного отопительного оборудования. Protherm продает отопительную технику в разных странах и континентах. Благодаря качественной и доступной ценовой политике на весь ассортимент отопительного оборудования эта компания завоевывает все большее количество потребителей.
Протерм Леопард 24 В О В — модель газового навесного котла для отопления и ГВС через или в дополнительно спроектированном накопительном баке. Квартиры, дома и дачи можно свободно отапливать с помощью такого оборудования. Представленное отопительное оборудование достаточно комфортно и удобно в эксплуатации и обслуживании.
С помощью ЖК-дисплея можно следить за работой котла. Коаксиальная система позволяет подключать технику без дымохода, что не менее актуально для сегодняшнего времени.
Преимущества представленной модели Протерм леопард :
- В котел встроен микропроцессор — он позволяет осуществлять электронное управление отопительным оборудованием.
- Плавная регулировка мощности — максимальная точность соблюдения расхода топлива и электроэнергии заданному температурному режиму
- Регулятором 9 можно поддерживать приемлемый микроклимат в помещении0014
- Управление защитой от замерзания
- Управление защитой от перегрева
- Контроль защиты насосной системы от заедания
- Режим управления «Зима-Лето»
- Контроль выбега откачки — после полного отключения горелки насоса некоторое время котел продолжает работать, это предотвращает закипание теплоносителя в самом теплообменнике.

- Антициклический режим — для предотвращения частого включения котла. На ЖК-дисплее отображаются основные параметры оборудования. Надежно зарекомендовала себя в работе предохранительная арматура отопительного оборудования, водяного тракта и системы газоудаления.
- Система регулируемой тяги дымохода
- Нагрузка отопительного контура и ТН полностью регулируется.
- ECO — есть высокоэкономичный режим приготовления GW
- Имеется газовая атмосферная горелка.
Если после этого неисправность сохраняется, обратитесь за помощью к квалифицированному специалисту.
- Для выравнивания напряжения подключите устройство через регулятор напряжения.
- Возможно проблема кроется в самом датчике, а точнее в его неисправности, замените на новый.
- Так же проблема может крыться в неисправной плате, отдайте ее на тестирование, а при необходимости замените на новую. Плата управления котлом Leopard
f6 Ошибка f6.
Указывает на открытие датчика тяги. Проверить следующее:
- Исправность датчика тяги.
- Прозвонить цепь датчика с платой на обрыв или короткое замыкание.
- Проверьте, правильно ли работает газовый клапан.
- Проверить на короткое замыкание на корпус.
- Проверить безопасность предохранителя.
- Возможно, неисправен датчик, контролирующий перегрев теплообменника.
Вы робот?
- Устройство и принцип работы котлов Леопард
- Основные коды ошибок
- Другие неисправности
Устройство и принцип работы котлов Леопард Двухконтурный газовый котел Леопард от компании Протерм, представляет собой аппарат, способный работать как на природном, так и на сжиженном газе, оснащенный битермическим теплообменником. Производительность жидкости из-под крана 8 литров в минуту, подогрев до 35 градусов. Потребляемая мощность 135 Вт. Оснащен встроенным процессором, контролирует работу устройства, сравнивая показания датчиков.
При обнаружении неисправности подача газа прекращается и отображается код неисправности. Этот прибор прост в управлении, КПД в отопительный сезон составляет 90%.
Газовый настенный котел Протерм Леопард
Проверить: — шланг подачи воздуха от вентилятора к дифференциальному реле. — правильное положение шланга к дифференциальному реле (точка подключения Р2). — работа вентилятора F7 — Ошибка связи Котел не распознает входные сигналы — мигает светодиод у символа молнии. Проверьте: — соединение разъемов на панели управления и панели дисплея/пользовательском интерфейсе. — панель управления (визуально). — панель дисплея/пользовательский интерфейс (визуально). Ошибка F8 — Неисправность газового клапана Газовый клапан не реагирует на команды пульта управления. Устройство выключено — мигает светодиод у символа «молния».
Проверьте: — разъем питания газового клапана. — сопротивление катушки газового клапана. Ошибка F9 — Потеря заданных параметров котла Могли быть потеряны пользовательские или сервисные настройки некоторых параметров автомата.
Неисправность котла Protherm leopard (протерм леопард)
Внимание Комнатный регулятор и датчик наружной температуры для системы эквитермического регулирования подключены к клеммной колодке. Нагрев горячей воды Благодаря плавному регулированию котел всегда нагревает горячую воду в битермическом теплообменнике с такой мощностью, что необходимая температура горячей воды поддерживается даже при изменении давления (расхода) горячей воды. Летом функцию обогрева можно отключить. Подключение комнатного термостата Клеммная колодка для подключения комнатного термостата и датчика наружной температуры расположена на задней стороне панели управления.
На клеммной колодке для подключения комнатного термостата с завода имеется перемычка.
Коды ошибок газовых котлов барс
Встроенный вспомогательный клапан для добавления воды в систему отопления. Высокая эффективность нагрева горячей воды в битермическом теплообменнике. Цифровое отображение давления в системе отопления на дисплее, если давление упадет ниже рекомендуемого предела, на пульте управления появится предупреждение.
Специальный, более мощный насос для удаления воздуха. Электронный отсчет давления отопительной воды — при падении давления ниже рекомендуемого предела, мигающий диод на дисплее предупреждает об этом пользователя, в случае протечки воды котел запускается. Защита от замерзания — при снижении температуры отопительной воды до уровня ниже 4С устройство автоматически включается и работает до тех пор, пока температура отопительной воды не достигнет 8С.
Защита от перегрева — насос всегда включается, когда температура отопительной воды превышает 80°С.
Protherm leopard 24 btv (bov)
- Проверьте, работает ли датчик давления жидкости.
- Проверьте, работает ли расширительный бачок.
- Если падение повторяется, и вам не удалось найти причину, обратитесь за помощью к квалифицированному специалисту.
f1 В жизни часто как-то обходят стороной тему страхов. Коды ошибок и неисправности газовых котлов подключенных к пантере F1 Пламя пропало Пламя потухло из-за прекращения подачи газа в котел — мигает светодиод у символа «молния» предел мощности не соответствует заданному значению) — расстояние между концы запальных электродов + кабели, ионизационный электрод + кабель запального трансформатора — газовый клапан — автоматическое управление.
Если температура отопительной воды превышает 90°C, прибор выключается и на дисплее появляется предупреждение. Нагрев ОВ — Котел работает, управляя от комнатного термостата или задавая температуру ОВ. — Насос работает и циркулирует OV. — ГВС в теплообменнике без движения. Нагрев ГВС — При потреблении ГВС датчик протока ГВС подает сигнал на щит управления. — Насос выключен и теплообменник охлаждается только технической водой. — ОВ располагается вокруг трубы, в которой нагревается хозяйственно-питьевая вода. по всей поверхности и уменьшить отложения кальция.
Что сделать, чтобы снова заработало? Ответ: Ошибка F8 — неисправность газового клапана. Возможно, он вышел из строя, и требуется замена на новый. Вопрос: Прыгает давление горячей воды. Те. умыться и принять контрастный душ — то же самое.
Внимание
Специалисты не найдены. Как с этим бороться? Ответ: Скорее всего у вас скважина. То же самое было и на этом, и на другом котле. Все было легко. Для начала нужно проверить давление в гидроаккумуляторе (синий или красный бак), оно должно быть около 1,5 бар, если меньше, то подкачиваем.
Если при нажатии на клапан бежит вода, то необходимо менять внутреннюю мембрану. После того, как все это будет проверено, проверьте, падает ли и давление. Если да, то по давлению нужно выставить порог отключения насоса при большем давлении.
Вопрос: Подскажите, у леопард протерм течет вода из барботера, который стоит за помпой, что делать.
Котел газовый протерм леопард 24 в-ва характерные неисправности
Защитные функции газового котла Protherm Leopard. Защита от замерзания. Котел оснащен встроенной защитой от замерзания, которая защищает его (но не систему отопления и трубопроводы ГВС). При снижении температуры отопительной воды до уровня ниже 4С устройство включится независимо от требования комнатного регулятора и независимо от настроек регулятора температуры отопительной воды в положение «солнце». Когда температура нагрева воды достигает 8 С, агрегат автоматически отключается.
Защита насоса Кратковременное включение насоса (примерно на 30 секунд) после 24 часов бездействия обеспечивает его защиту от заклинивания при длительном перерыве в работе.
Защита по снижению цикличности работы котла Данная функция ограничивает количество пусков, влияющих на срок службы устройства и его экономичную работу, функция активна только в режиме отопления.
Инфо
В зависимости от модификации может быть с естественным или принудительным удалением продуктов сгорания. Основные коды ошибок Научитесь играть в шахматы с тренером будущих чемпионов. Далее рассмотрим самые распространенные ошибки газового котла Леопольд, посмотрим, что нужно сделать для их устранения.
A6 Ошибка a6. Это происходит из-за низкой температуры в помещении, где установлен котел. Температура в помещении, где установлено устройство, не должна опускаться ниже 0 градусов, если это может произойти по какой-то причине, установите там электрический радиатор. f0 Поможем получить спортивный разряд по шахматам или звание мастера кандидата спорта. Ошибка f0. Возникает, когда давление циркулирующей жидкости падает ниже 0,7 бар.
Необходимо сделать следующее:
- Поднять давление в системе отопления до необходимого значения (1,5 бар.). Это можно сделать с помощью косметического крана.
Характеристики Протерм Леопард 24 БТВ/БОВ Встроенный микропроцессор управляет всей работой котла, обеспечивает автодиагностику, а дополнительно можно установить комплект эквитермического регулирования, состоящий из пульта управления и датчика наружной температуры. Плавное регулирование — осуществляется на основе постоянного сравнения фактических значений со значениями, требуемыми (заданными) пользователем. Плавный пуск — после растопки котел некоторое время работает на минимальной мощности; Эта функция отключается при нагреве горячей воды, а необходимая мощность достигается практически мгновенно. Защита насоса — при непрерывном бездействии насоса в течение 24 часов он будет включаться на короткое время, что снижает возможность его заклинивания из-за образования отложений. Повышенный класс электрозащиты, соответствующий условиям размещения котла в санузлах и над санузлом.
После этого котел должен запуститься. Вопрос: Подскажите пожалуйста какую максимальную температуру в трубах можно установить на котле Протерм Леопард 24 бтв/бов площадь дома 100 кв.м. Ответ: Максимальная температура 75 градусов С. Вопрос: Протерм Леопард 24 БОВ к 50 гр. нагрев все работает нормально, если добавить выключается через минуту и выдает ошибку F6, что это? Ответ: Неисправен воздушный или вентиляторный моностат. Вопрос: Protherm Leopard 24 при первом подключении выдает ошибку F6.
Подскажите, в чем может быть проблема, может проблема в установке? Ответ: Ошибка F6 — неисправность моностата вентилятора. Вопрос: Котел Леопард 24 БОВ 17серии. Я получаю ошибку F8, что означает эту неисправность, и как я могу это исправить? Ответ: Возможно, неисправен газовый клапан. Вопрос: Сборка Протерм Леопард остановлена. Мигает ошибка F8.
Коды ошибок газового котла Protherm
Световая индикация для серии Изумруд 31-34 кВт.
I индикация
Код ошибки
Причина ошибки
Красный мигающий
Ошибка рисования
Ошибка давления воздуха: трубка Вентури или дымоход забиты, конец коаксиального дымохода замерз, вентилятор или аварийный выключатель сломан, цепи датчика перегрева 65°С (только для котлов
с открытой камерой сгорания).
Мигает 1 раз зеленым, 2 раза красным
Ошибка НТС контура отопления
Перегрев или выход из строя датчика НТС (контур обогрева)
Мигает 1 раз зеленым, 3 раза красным
Ошибка НТС контура ГВС
Перегрев или неисправность датчика НТС (контур ГВС)
Мигает 1 раз зеленым, 4 раза красным
Перегрев теплообменника
Температура воды превышает 92°С: обрыв цепи датчика перегрева, воздушная пробка в системе отопления, насос не обеспечивает номинальный расход теплоносителя.
Мигает 1 раз зеленым, 6 раз красным
Нет зажигания
Невозможность розжига: перебои с подачей газа, обрыв (пробой) в цепи зажигания.
Мигает 1 раз зеленым, 7 раз красным
Ложное сгорание
Система контроля пламени вышла из строя: сбой подачи газа в систему газоснабжения, сбой датчика ионизации, сбой платы управления.
Красный свет
Остаточное пламя на горелке
Отключение газа через 4 сек. После отключения устройства: негерметичен газовый клапан котла, неисправна плата управления.
Красный и зеленый одновременно
Ошибка обращения
Низкое давление в контуре отопления, неисправность датчика давления (расхода), засорение крыльчатки насоса или обратного фильтра, неисправность циркуляционного насоса.
Зеленый мигает (интенсивно).
Защита от замерзания *
Режим защиты от замерзания активен
Мигает зеленым (3 секунды не горит, 0,1 секунды горит)
Режим тестирования*
Режим принудительной циркуляции
Мигает зеленым (3 секунды не горит, 0,2 секунды горит)
Режим ожидания*
Котел в рабочем состоянии, горения нет
Горит зеленый свет
Обогрев*
Режим обогрева включен
Коды ошибок для серии Diamond, Ruby
Е1 — ошибка утечки дымовых газов — проверьте, не забит ли вентиляционный патрубок, исправность прессостата и вентилятора;
Е2 — ошибка датчика отопления — проверьте правильность работы датчика температуры контура отопления;
Е3 — Ошибка датчика температуры ГВС — проверить достаточно ли напор воды, работоспособность датчика температуры ГВС;
Е4 — высокая температура теплообменника — проверить краны отопления, целостность цепи датчика перегрева;
Е6 – тушение пожара – проверить напряжение в сети, засорение газового клапана, исправность системы розжига, отсутствие электрических помех.
Изоляция в нем;
E7, Eb — ошибка системы зажигания — система обнаружила проблему в устройстве зажигания, проверьте наличие нагара или влаги на электродах и датчике ионизации, стабильность подачи газа, возможна неисправность платы управления;
ЭП — ошибка отопительного контура — проверить давление воды в отопительном контуре, исправность датчика давления, исправность автоматического деаэратора
И циркуляционный насос. Полное отсутствие индикации — поврежден шнур питания, неисправна плата управления или дисплей.
Световая индикация для серии Emerald
Примечание. Чтобы проверить код ошибки, откройте заднюю крышку панели управления.
ВНИМАНИЕ!!!
Индикаторы расположены на лицевой стороне платы управления котлом. Для котлов новой версии — индикация на передней панели управления.
Индикация состояния диодов
Причина ошибки
Тип ситуации
Диоды интенсивности пламени
Красный мигающий
Посторонние предметы в вентиляционной трубе Вентури или дымоходе, замерзание головки дымохода, неисправный вентилятор
Ошибка рисования
Первый
красный свет
Ошибка датчика температуры отопительного контура
Перегрев теплоносителя
Второй свет горит
Красный свет
ошибка датчика температуры
Третий
Красный свет
Пробка в системе отопления, обрыв цепи датчика перегрева, неисправен насос.
Перегрев теплообменника (температура превышает 92°С)
Четвертый
Красный свет
Нарушение подачи газа, обрыв (поломка) цепи зажигания.
Ошибка зажигания
Горят первая и пятая лампочки
Красный свет
Перебои в подаче газа, выход из строя датчика ионизации или платы управления.
Сбой в системе контроля пламени.
Горят вторая и пятая лампочки.
Красный свет
Отсутствие газовой арматуры, выход из строя платы управления.
Остаточное пламя на горелке (гаснет более 4 секунд после выключения).
Все диоды мигают последовательно, с частотой 1 раз/сек.
Красный и зеленый
Низкое давление в трубах, неисправен датчик давления (проток), забита крыльчатка циркуляционного насоса, неисправен насос.
Нарушение кровообращения.
———
Мигает зеленым, с частотой 4 раза/сек.
Температура охлаждающей жидкости ниже 5 градусов.
Защита от замерзания
———
Мигает зеленым (3 секунды горит, 0,2 не горит).
Охлаждение теплообменника.
Включается циркуляционный насос.
———
Зеленый мигающий
Нет запроса на включение горелки.
Ожидание в режиме обогрева.
———
Горит зеленый свет
Нет.
Обогрев
———
«Протерм» газовый котел: обзор
Вы можете получить его, чтобы начать с бахая и ибигай это в основном на трубе, может быть котлом «обзор» Протерм ‘tungkol саан может монг basahin sa artikulo. Gayunpaman, dapat mong panatilihin sa isip na ang-install ng kagamitan na ito nangangailangan ng angangailangan ng angangailangan ng panginoon ng a espesyal na kasanayan.
можно использовать в котельной, но только в том случае, если он работает без последствий, а также в зависимости от операции.0003
Устройство котла по технологии для газовых котлов «Протерм»
Котел «Протерм» обзор на любос на мадалас на напака-позитибонг, дапат на нака-установить са исанг еспесял на нилагьян лугар. Kung babalewalain natin ang mga panuntunang ito, maaari itong maging sanhi ng ga parusa и aksidente. Устанавливать одноконтурный кагамитан, который потребляет 60 киловатт или больше, установка нито не может быть произведена в любое время. Вы можете установить его дважды в два раза, с помощью кухни, которую я могу установить.
караоке
Оборудование, которое может иметь мощность до 150 киловатт, может быть установлено в любой точке мира. Ngunit са баньо, са баньо или сала установка устройства ipinagbabawal. Котел «Протерм Медведь» имеет самую высокую мощность, а также максимальную мощность с максимальной мощностью 150-350 киловатт. В этом случае, установка установки может быть сделана как на земле, так и на земле.
Кроме того, вы можете установить, установить пользователь на кухне, влечет за собой установление установленных параметров в силе. Кая, с киловаттной мощностью в 0,2 метра от кубико комнаты.
Обзор котлов для настройки
Газовый котел «Proterm», обзор для всех потребителей, покупаемых в соответствии с вашими предпочтениями. Kapag pumipili nga kagamitan, это махалага, чтобы сделать все возможное. Этот параметр имеет большое значение, и ни один из параметров не зависит от того, что вам нужно. Рынок является средним малаваком, который имеет самую лучшую модель, которая дает вам возможность использовать оборудование, чтобы сделать его доступным. Чтобы увеличить мощность до 10 квадратных метров, вы можете потреблять 1 киловатт. Как раз это, Гусали дапат на рин изолированные, и кисаме Таас на хинди дапат больше в 3 метро. Это может быть сделано на хинди или в соответствии с инструкциями по эксплуатации тепловых насосов и герметиков, это может быть использовано для изучения модели, которая может быть использована в качестве основного продукта.
Mainit на трубе Factor
Использование газового котла «Протерм», обзор, который может быть использован в качестве основного продукта, который может быть использован в основном в трубе. Это имеет большое значение, но не превышает 20-50%. Mga mamimili является пинапаюханом, который может быть особенным на пансине в katunayan на пагханде mainit на трубе на хинди является tuloy-tuloy на просесо. Кая это возможно, чтобы сделать его tiyak на paminsan. Конструирование системы осуществляется с приоритетом в основном в трубах. Капа может быть многообразным для основной части трубного конденсатора, который используется для отопления, имеет систему питания и является хинди гагана.
Gayunpaman, это может быть сделано для того, чтобы понять, что температура висит в гусале на хинди. Многие предпочитают пароконвектоматы «Протерм-Гепард» обзор, который можно купить в других магазинах. Это стебли из камуфляжного оборудования, которое может быть использовано для того, чтобы начать плавание в бассейне.
В зависимости от этого, все зависит от того, может ли он быть в пути без нагрузки.
Обзор котла с другим циклом
Установка представляет собой специальное устройство для отопления, которое обычно используется для одноконтурного котла. Принцип действия любой системы отопления состоит из нескольких трубчатых систем отопления, которые могут использоваться только в точке забора горячей воды, а также из двух контуров. Как правило, это означает, что в этой модели используется встроенный котел или встроенный котел.
Котел «Протерм» современный потребительский обзор, позволяющий просматривать популярные аппараты, может быть подключен к современным автоматическим котлам. Kами pakikipag-usap tungkol с одноконтурным соединением, которое может производиться с помощью различных цепей, связанных с подогревом полов.
Многие из них включают в себя основную часть трубы, которая имеет несколько вариантов выполнения потока устройства. это magagawang magbigay ng поставка тюбик са dami нг 15 литров только что минуту.
Трубка нагревается до 30 градусов. Combi Boiler с интегрированным котельным костюмом для нескольких пользователей, которые могут быть легко переносимы, могут использоваться для потребителей.
Можно использовать в качестве вспомогательного оборудования, которое можно использовать в основном в 200-литровых трубах, в основном в любых количествах, которые можно использовать. С другой стороны, обслуживание котлов Tinitiyak nito, является tiyak на халаге, что является последним из труб большого газа magdiskonekta. С естественными вариантами осуществления, с различными недостатками, которые не имеют большого количества функций и недостатков, таких как устройства, которые можно обслуживать, они не являются типичными для одного устройства, а также имеют дополнительные функции на этом устройстве. .
Обзор котла с различными параметрами управления
Обзор котла «Proterm» может быть выполнен в соответствии со статьей, которая может быть вызвана другими проблемами. встроенный микропроцессор, обеспечивающий контроль над операциями.

Характеристика котла
Для регулирования в нем давления, в зависимости от конкретных условий отопительной системы, можно использовать измерители давления шин и автомобильные воздушные насосы. Измеритель шин должен быть испытан точным манометром.
Сигнализация «потеря пламени» (обозначение «факел») обозначает неисправность котла в результате нежелательного погасания пламени или незажиганием газа при старте котла.
Подключаем котел к сети.
При отборе горячей воды нагревает воду.
Из системы осторожно удаляется воздух и заливом воды поднимается до установленной величины.
е. температура выходящей воды не повышается. Необходимый объём выходящей воды в этом случае больше.
Окончательная температура колеблется около величины, установленной на рабочем регуляторе ГВС. Эта температура не может быть очень высокой, чтобы котел не выключался при достижении максимальной температуры ОВ — колебания температур ГВС однако значительно повысятся. Отбираемое количество воды должно быть такое, чтобы котел не переключался на такую работу, как описано в пункте а).
е. изолировать материалами, предназначенными только для данного вида топлива :
При установке котлов и подключенном к ним оборудовании необходимо соблюдать правила техники безопасности, общие гигиенические принципы и требования к охране здоровья.
статическое избыточное давление в котле
Технические параметры котла PROTHERM 24 POV
статическое избыточное давление в котле
клап.
аварийного

е. полной мощности) :
11 Схема электрического подключения котла PROTHERM 24 РОV
Даже маломощные модели могут за одну минуту нагреть 10–11 литров воды. Настенное устройство, в котором движение теплоносителя осуществляется принудительным образом.


, а в норме это значение составляет 0,3 атм. ниже показателей в системе отопления;

Настенный прибор, в котором движение теплоносителя осуществляется принудительно.
Модель имеет режим «Зима-Лето» и удобный контроль тяги. Он имеет автоматическое регулирование процесса горения и отличается особой системой зажигания.
расход горячей воды